πŸŒ™ Ψ±Ω…ΨΆΨ§Ω† ΩƒΨ±ΩŠΩ… ✨
✨ Ramadan Working Hours: 9:00 AM – 3:00 PM ✨

F250HET'21

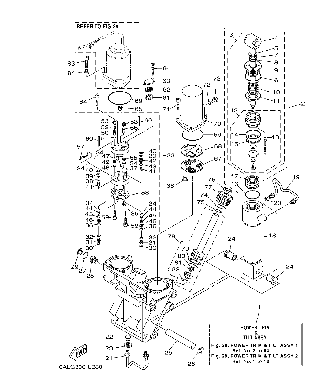
Section 28: POWER TRIM & TILT ASSY 1 COMPONER Y PODER VARILLA 1 (v2)

Model code: 6FJ5
Section 28 β€” POWER TRIM & TILT ASSY 1 COMPONER Y PODER VARILLA 1
F250HET'21
100%
F250HET'21 – section 28 POWER TRIM & TILT ASSY 1 COMPONER Y PODER VARILLA 1 parts diagram
Diagram image Open full size
Parts list
Section 28
Ref Part No. / Description Qty Buy
1
69J-43800-11-8D
POWER TRIM & TILT ASSY 1
1
2
6CE-43840-01
POWER TILT ASSY 1
1
3
6CE-43810-01
.TILT PISTON SUB ASSY 1
1
4
69J-43801-01
..ROD 1
1
353.07 AED
πŸ”“ Unlock Discounts
Stock 1 (Ask)
5
93106-19001
..OIL SEAL 1
1
19.37 AED
πŸ”“ Unlock Discounts
Stock 90
6
63P-43861-20
..O-RING 1
1
9.68 AED
πŸ”“ Unlock Discounts
Stock 130
7
6H1-43872-00
..RING, BACK UP 1
1
13.41 AED
πŸ”“ Unlock Discounts
Stock 52
8
61A-4389H-01
..O-RING 1
1
9.68 AED
πŸ”“ Unlock Discounts
Stock 120
9
61A-43811-00
..SCREW, CYLINDER END 1
1
218.99 AED
πŸ”“ Unlock Discounts
Stock 54
10
69J-4384H-00
..SPRING 1
1
5.21 AED
πŸ”“ Unlock Discounts
Stock 1 (Ask)
11
69J-4382E-00
..ADAPTOR 2 1
1
11.17 AED
πŸ”“ Unlock Discounts
Stock 1 (Ask)
12
6CE-4380P-00
..PISTON SUB ASSY 1
1
13
93505-32038
...BALL 5
5
14
61A-43861-00
...O-RING 1
1
15
61A-43871-00
...RING, BACK UP 1
1
16
61A-43861-00
.O-RING 1
1
17
6H1-43814-11
.PISTON, FREE 1
1
18
61A-43813-02
.CYLINDER, TILT 1
1
19
69J-43835-10
PIPE 1
1
20
69J-4388J-00
PLUG 2 1
1
43.20 AED
πŸ”“ Unlock Discounts
Stock 7
21
69J-43833-02
PIPE 1
1
192.18 AED
πŸ”“ Unlock Discounts
Stock 125
22
93210-17239
O-RING 1
1
23
69J-4388E-01
BOLT ,SCREW 1
1
24
90386-18M14
BUSH 2
2
5.21 AED
πŸ”“ Unlock Discounts
Stock 70
25
61A-43818-00
PIN, LOWER SHOCK MOUNT 1
1
26
61A-43876-01
RING, SNAP 1
1
10.43 AED
πŸ”“ Unlock Discounts
Stock 3 (Ask)
27
6D8-43863-00
O-RING 1
1
3.72 AED
πŸ”“ Unlock Discounts
Stock 28
28
69J-43845-00
SCREW, MANUAL RELEASE 1
1
57.36 AED
πŸ”“ Unlock Discounts
Stock 5
29
6H1-43875-00
RING, SNAP 1
1
6.70 AED
πŸ”“ Unlock Discounts
Stock 4 (Ask)
30
69J-4381C-00
FILTER 3 2
2
31
69J-43899-01
PLATE STOPPER 2
2
171.32 AED
πŸ”“ Unlock Discounts
Stock 2 (Ask)
32
69J-4389J-00
O-RING 2
2
3.72 AED
πŸ”“ Unlock Discounts
Stock 5
33
69J-43830-01
GEAR PUMP ASSY 1
1
34
93505-32038
.BALL 4
4
35
69J-4381C-00
.FILTER 3 1
1
36
69J-4389J-00
.O-RING 2
2
3.72 AED
πŸ”“ Unlock Discounts
Stock 5
37
93503-16003
.BALL 2
2
2.98 AED
πŸ”“ Unlock Discounts
Stock 75
38
6CJ-4384M-00
.PISTON, SHUTTLE 2 1
1
39
69A-4384F-00
.SEAL, MAIN VALVE 2
2
40
99002-03600
.CIRCLIP 2
2
41
69J-43894-00
.SPRING, SHUTTLE RETURN 2
2
42
6CJ-43841-00
.PISTON, SHUTTLE 1
1
43
6H1-43883-00
.O-RING 1
1
44
60V-4386A-00
.PIN, ABSORBER VALVE 2
2
45
69J-43853-00
.SPRING, MAIN VALVE 2
2
46
6CJ-43893-00
.WASHER 2
2
47
93501-08001
.BALL 2
2
48
93210-08391
.O-RING 1
1
49
69J-43851-00
.SEAT, RELIEF VALVE 1
1
50
63P-43844-20
.PIN, VALVE SUPPORT 1
1
51
93210-064A5
.O-RING 1
1
52
69J-43855-00
.SPRING, UP RELIEF 1
1
53
6CJ-43843-00
.SCREW, VALVE LOCK 2
2
54
6H1-4384G-11
.SEAL, RELIEF VALVE 1
1
55
6H1-43844-10
.PIN, VALVE SUPPORT 1
1
56
6H1-43856-10
.SPRING, DOWN RELIEF 1
1
57
69J-43854-00
.SPRING, MANUAL RELEASE 1
1
58
69J-4384G-00
.SEAL, RELIEF VALVE 1
1
59
91318-05025
.BOLT 2
2
60
93604-35236
.PIN, DOWEL 2
2
61
69J-43871-00
RING, BACK UP 1
1
62
69J-43816-00
FILTER 1 1
1
63
69J-4381J-00
PLATE 1
1
64
91318-05040
BOLT 3
3
65
69J-43831-00
CONNECTOR, SHAFT 1
1
66
69J-4388H-00
PLUG 1
1
67
69J-43817-00
FILTER 2 1
1
68
69J-4388F-00
SPACER 1
1
69
93210-66001
O-RING 2
2
4.47 AED
πŸ”“ Unlock Discounts
Stock 27
70
69J-43828-00
BODY, RESERVOIR 1
1
559.41 AED
πŸ”“ Unlock Discounts
Stock 5
71
69J-43888-00
BOLT, SOCKET 3
3
16.39 AED
πŸ”“ Unlock Discounts
Stock 1 (Ask)
72
93210-09165
O-RING 1
1
73
6H1-43829-00
PLUG, RESERVOIR 1
1
34.26 AED
πŸ”“ Unlock Discounts
Stock 25
74
61A-43861-00
O-RING 2
2
75
6D8-43863-00
O-RING 2
2
3.72 AED
πŸ”“ Unlock Discounts
Stock 28
76
63P-43812-20
SEAL, DUST 2
2
23.09 AED
πŸ”“ Unlock Discounts
Stock 84
77
61A-43821-02
SCREW, TRIM CYLINDER END 2
2
127.37 AED
πŸ”“ Unlock Discounts
Stock 5
78
69J-43820-01
TRIM PISTON SUB ASSY 2
2
583.24 AED
πŸ”“ Unlock Discounts
Stock 51
79
61A-43874-00
.RING, BACK UP 1
1
28.31 AED
πŸ”“ Unlock Discounts
Stock 15
80
61A-43864-00
.O-RING 1
1
5.96 AED
πŸ”“ Unlock Discounts
Stock 42
81
61A-4384H-10
.SPRING 1
1
8.19 AED
πŸ”“ Unlock Discounts
Stock 4 (Ask)
82
61A-43875-10
.RING, SNAP 1
1
13.41 AED
πŸ”“ Unlock Discounts
Stock 1 (Ask)
83
90110-08M05
BOLT, HEXAGON SOCKET HEAD 3
3
5.21 AED
πŸ”“ Unlock Discounts
Stock 1 (Ask)
84
6GR-23113-00
COLLAR 3
3