FL250HET'21
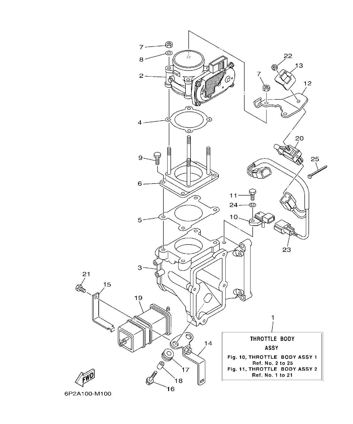
Section 10: THROTTLE BODY ASSY 1 CAJA DE ACELERADOR COMPL 1 (v2)
Model code: 6FK5
Section 10 β THROTTLE BODY ASSY 1 CAJA DE ACELERADOR COMPL 1
FL250HET'21
100%
Diagram image
Open full size
Parts list
Section 10
| Ref | Part No. / Description | Qty | Buy |
|---|---|---|---|
| 1 |
6P2-13750-12
THROTTLE BODY ASSY 1
|
1 | |
| 2 |
6P2-13751-02
BODY, THROTTLE 1 1
|
1 | |
| 3 |
6P2-13711-00
MIXING BODY 1
|
1 | |
| 4 |
6P2-13556-00
GASKET, MANIFOLD 1
|
1 | |
| 5 |
6P2-13557-00
GASKET 1
|
1 | |
| 6 |
6P2-14360-00
THROTTLE DAMPER ASSY 1
|
1 | |
| 7 |
6P2-13588-00
NUT 4
|
4 | |
| 8 |
6P2-13578-00
WASHER 2
|
2 | |
| 9 |
6P2-14496-00
BOLT 4
|
4 | |
| 10 |
6P2-82380-00
SENSOR, PRESSURE 1
|
1 | |
| 11 |
6P2-13573-00
BOLT 1 1
|
1 | |
| 12 |
6P2-14255-00
PLATE 1
|
1 | |
| 13 |
6P2-14159-00
CLIP 1
|
1 | |
| 14 |
6P2-2134X-00
BRACKET, CANISTER 1
|
1 | |
| 15 |
6P2-2419A-00
HOLDER 1
|
1 | |
| 16 |
90119-06289
BOLT, WITH WASHER 2
|
2 | |
| 17 |
90480-10M23
GROMMET 2
|
2 | |
| 18 |
90387-06289
COLLAR 2
|
2 |
4.47 AED
Check price & stock on WhatsApp
|
| 19 |
6P2-24170-00
CANISTER ASSY 1
|
1 |
341.90 AED
Check price & stock on WhatsApp
|
| 20 |
6C5-86120-00
SOLENOID VALVE ASSY 1
|
1 | |
| 21 |
6P2-13574-00
BOLT 2 1
|
1 | |
| 22 |
69J-14164-00
NUT, HOLDING 1
|
1 | |
| 23 |
6P2-8258A-00
EXTENSION, WIRE HARNESS 1
|
1 | |
| 24 |
68V-14356-00
WASHER, SPRING 1
|
1 | |
| 25 |
68V-2481H-00
CLAMP 1
|
1 |