πŸŒ™ Ψ±Ω…ΨΆΨ§Ω† ΩƒΨ±ΩŠΩ… ✨
✨ Ramadan Working Hours: 9:00 AM – 3:00 PM ✨

FL250HET'21

Section 52: REPAIR KIT 2 ESTUCHE REPARATION 2 (v2)

Model code: 6FK5
Section 52 β€” REPAIR KIT 2 ESTUCHE REPARATION 2
FL250HET'21
100%
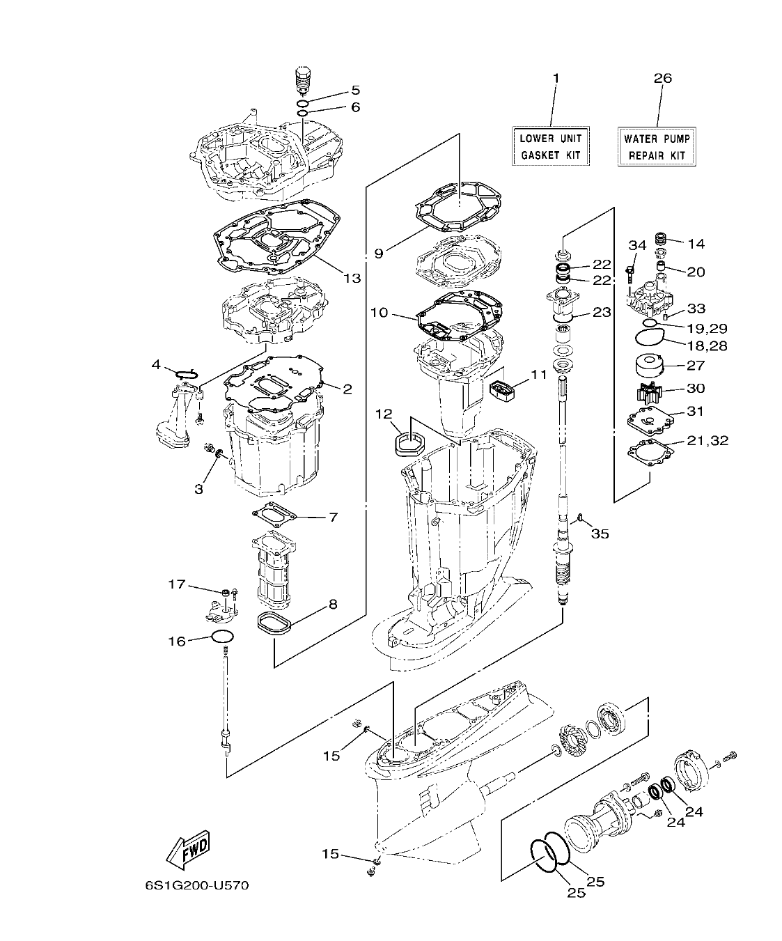
FL250HET'21 – section 52 REPAIR KIT 2 ESTUCHE REPARATION 2 parts diagram
Diagram image Open full size
Parts list
Section 52
Ref Part No. / Description Qty Buy
1
6P2-W0001-24
LOWER UNIT GASKET KIT 1
1
991.44 AED
πŸ”“ Unlock Discounts
Stock 17
2
69J-15312-02
.GASKET, OIL PAN 1
1
3
90430-14M09
.GASKET 1
1
3.72 AED
πŸ”“ Unlock Discounts
Stock 467
4
69J-13415-00
.SEAL, OIL STRAINER 1
1
5
93210-347A1
.O-RING 1
1
2.98 AED
πŸ”“ Unlock Discounts
Stock 34
6
93210-28543
.O-RING 1
1
2.98 AED
πŸ”“ Unlock Discounts
Stock 5
7
6P2-41134-00
.GASKET, EXHAUST MANIFOLD 1
1
10.43 AED
πŸ”“ Unlock Discounts
Stock 20
8
69J-41138-00
.SEAL, EXT. 1 1
1
9
69J-41135-A0
.GASKET, EXHAUST MANIFOLD 1
1
10
6S1-41136-01
.GASKET, EXHAUST MANIFOLD 4 1
1
68.53 AED
πŸ”“ Unlock Discounts
Stock 4 (Ask)
11
69J-45127-01
.SEAL 1
1
12
69J-45123-00
.GASKET, MUFFLER 1
1
45.44 AED
πŸ”“ Unlock Discounts
Stock 4 (Ask)
13
69J-45113-21
.GASKET, UPPER CASING 1
1
227.93 AED
πŸ”“ Unlock Discounts
Stock 4 (Ask)
14
6E5-44366-01
.DAMPER, WATER SEAL 2 1
1
5.21 AED
πŸ”“ Unlock Discounts
Stock 45
15
90430-08003
.GASKET 2
2
2.98 AED
πŸ”“ Unlock Discounts
Stock 98
16
93210-64488
.O-RING 1
1
5.21 AED
πŸ”“ Unlock Discounts
Stock 7
17
93106-09014
.OIL SEAL 1
1
8.19 AED
πŸ”“ Unlock Discounts
Stock 5
18
93210-86M38
.O-RING 1
1
17.13 AED
πŸ”“ Unlock Discounts
Stock 339
19
93210-37160
.O-RING 1
1
20
6E5-44365-01
.DAMPER, WATER SEAL 1 1
1
5.96 AED
πŸ”“ Unlock Discounts
Stock 29
21
6E5-44315-A0
.GASKET, WATER PUMP 1
1
12.66 AED
πŸ”“ Unlock Discounts
Stock 640
22
93101-28019
.OIL SEAL 2
2
55.12 AED
πŸ”“ Unlock Discounts
Stock 500
23
93210-55M14
.O-RING 1
1
24
93101-30030
.OIL SEAL 2
2
52.89 AED
πŸ”“ Unlock Discounts
Stock 122
25
93211-04384
.O-RING 2
2
9.68 AED
πŸ”“ Unlock Discounts
Stock 471
26
6S1-W0078-01
WATER PUMP REPAIR KIT 1
1
967.60 AED
πŸ”“ Unlock Discounts
Stock 39
27
6R3-44322-42
.INSERT, CARTRIDGE 1
1
372.44 AED
πŸ”“ Unlock Discounts
Stock 30
28
93210-86M38
.O-RING 1
1
17.13 AED
πŸ”“ Unlock Discounts
Stock 339
29
93210-37160
.O-RING 1
1
30
6E5-44352-01
.IMPELLER 1
1
97.58 AED
πŸ”“ Unlock Discounts
Stock 2 (Ask)
31
6G5-44323-41
.OUTER PLATE, CARTRIDGE 1
1
235.38 AED
πŸ”“ Unlock Discounts
Stock 45
32
6E5-44315-A0
.GASKET, WATER PUMP 1
1
12.66 AED
πŸ”“ Unlock Discounts
Stock 640
33
93606-12019
.PIN, DOWEL 2
2
6.70 AED
πŸ”“ Unlock Discounts
Stock 292
34
90119-08191
.BOLT, WITH WASHER 4
4
10.43 AED
πŸ”“ Unlock Discounts
Stock 6
35
90280-04M05
.KEY, WOODRUFF 1
1
23.09 AED
πŸ”“ Unlock Discounts
Stock 1 (Ask)