πŸŒ™ Ψ±Ω…ΨΆΨ§Ω† ΩƒΨ±ΩŠΩ… ✨
✨ Ramadan Working Hours: 9:00 AM – 3:00 PM ✨

FL250HET'21

Section 29: POWER TRIM & TILT ASSY 2 COMPONER Y PODER VARILLA 2 (v2)

Model code: 6FK5
Section 29 β€” POWER TRIM & TILT ASSY 2 COMPONER Y PODER VARILLA 2
FL250HET'21
100%
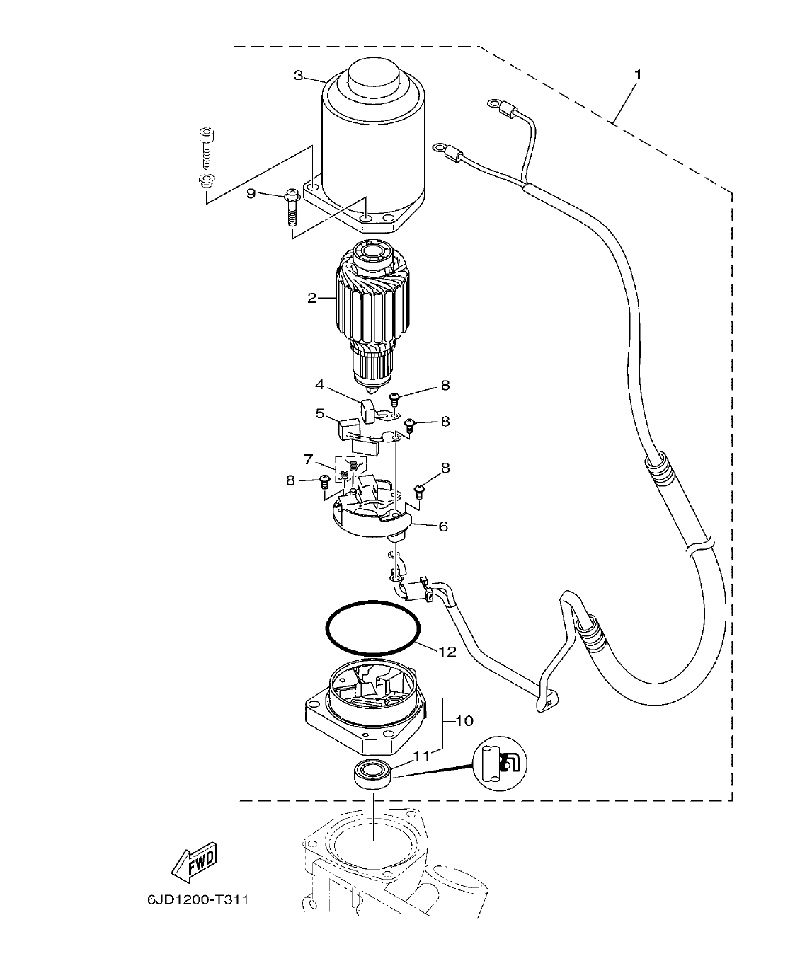
FL250HET'21 – section 29 POWER TRIM & TILT ASSY 2 COMPONER Y PODER VARILLA 2 parts diagram
Diagram image Open full size
Parts list
Section 29
Ref Part No. / Description Qty Buy
1
69J-43880-11
MOTOR ASSY 1
1
2
6GR-43805-00
.ARMATURE ASSY 1
1
3
6GR-43804-00
.STATOR ASSY 1
1
4
6GR-43892-00
.BRUSH 2 1
1
145.25 AED
πŸ”“ Unlock Discounts
Stock 38
5
6GR-82181-00
.CIRCUIT BREAKER COMP. 1
1
755.31 AED
πŸ”“ Unlock Discounts
Stock 24
6
6GR-4380F-00
.PLATE, BRUSH HOLDER 1
1
7
6GR-4386K-00
.SPRING, BRUSH 1
1
246.56 AED
πŸ”“ Unlock Discounts
Stock 5
8
97602-04310
.SCREW, PAN HEAD WITH WASHER 4
4
9
67C-43879-10
.SCREW, WITH WASHER 2
2
9.68 AED
πŸ”“ Unlock Discounts
Stock 1 (Ask)
10
69J-43881-11
.FRAME, END 1
1
11
6GR-43882-01
..OIL SEAL 1
1
24.58 AED
πŸ”“ Unlock Discounts
Stock 2 (Ask)
12
6GR-43864-00
.O-RING 1
1