F70LA
Section 4: CYLINDER & CRANKCASE 2 (v2)
Engine sections in this catalog
TOP COWLING
FUEL INJECTION PUMP 2
OIL PUMP
FUEL 1
FUEL 2
GENERATOR
ELECTRICAL 1
ELECTRICAL 2
ELECTRICAL 3
ELECTRICAL 4
STARTING MOTOR
CYLINDER & CRANKCASE 1
BOTTOM COWLING 1
BOTTOM COWLING 2
CONTROL
BRACKET 1
BRACKET 2
POWER TRIM & TILT ASSY 1
POWER TRIM & TILT ASSY 2
UPPER CASING
OIL PAN
LOWER CASING & DRIVE 1
CRANKSHAFT & PISTON
LOWER CASING & DRIVE 2
STEERING GUIDE
OPTIONAL PARTS 1
OPTIONAL PARTS 2
OPTIONAL PARTS 3
OPTIONAL PARTS 4
OPTIONAL PARTS 5
REPAIR KIT 1
REPAIR KIT 2
CYLINDER & CRANKCASE 2
VALVE
INTAKE 1
INTAKE 2
INTAKE 3
FUEL INJECTION PUMP 1
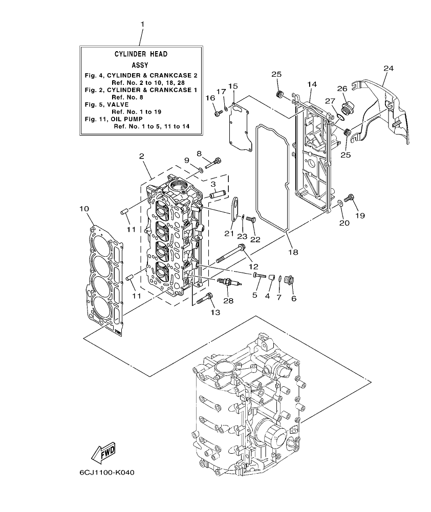
Diagram for section 4: CYLINDER & CRANKCASE 2.
| Ref | Part No. | Qty | Buy |
|---|---|---|---|
| 2 |
6CJ-W009A-00-9S
CYLINDER HEAD ASSY
|
1 | Ask on WhatsApp |
| 3 |
6CJ-11111-00-9S
HEAD, CYLINDER 1
|
1 | Ask on WhatsApp |
| 4 |
6AH-11133-10
.GUIDE, VALVE 1
|
16 | Ask on WhatsApp |
| 5 |
6G8-11325-00
ANODE
|
3 | Ask on WhatsApp |
| 6 |
97880-05025
SCREW, PAN HEAD
|
3 | Ask on WhatsApp |
| 7 |
6G8-11197-01
PLUG, BLIND
|
3 | Ask on WhatsApp |
| 8 |
93210-13M63
O-RING
|
3 | Ask on WhatsApp |
| 9 |
90109-06M65
BOLT
|
1 | Ask on WhatsApp |
| 10 |
90430-06014
GASKET
|
1 |
Price:
3.72 AED
In stock
(5 pcs)
|
| 11 |
6CJ-11181-00
GASKET, CYLINDER HEAD 1
|
1 | Ask on WhatsApp |
| 12 |
99530-08012
PIN, DOWEL
|
2 |
Price:
3.72 AED
In stock
(40 pcs)
|
| 13 |
90105-09009
BOLT, FLANGE
|
10 | Ask on WhatsApp |
| 14 |
90119-06MA6
BOLT, WITH WASHER
|
5 | Ask on WhatsApp |
| 15 |
6CJ-11191-00-9S
COVER, CYLINDER HEAD 1
|
1 | Ask on WhatsApp |
| 16 |
6C5-11168-00
COVER, BREATHER
|
1 | Ask on WhatsApp |
| 17 |
98507-04010
SCREW, PAN HEAD
|
6 |
Price:
2.98 AED
In stock
(10 pcs)
|
| 18 |
92907-04600
WASHER
|
6 | Ask on WhatsApp |
| 19 |
6CJ-11356-00
SEAL, CYLINDER 2
|
1 | Ask on WhatsApp |
| 20 |
97095-06020
BOLT
|
6 | Ask on WhatsApp |
| 21 |
92995-06600
WASHER
|
6 | Ask on WhatsApp |
| 22 |
6CJ-11119-00
HANGER, ENGINE
|
1 | Ask on WhatsApp |
| 23 |
97095-06020
BOLT
|
2 | Ask on WhatsApp |
| 24 |
92995-06600
WASHER
|
2 | Ask on WhatsApp |
| 25 |
6CJ-11192-00
COVER, CYLINDER HEAD 2
|
1 | Ask on WhatsApp |
| 26 |
90480-12314
GROMMET
|
3 | Ask on WhatsApp |
| 27 |
6G8-15363-00
PLUG, OIL
|
1 | Ask on WhatsApp |
| 28 |
93210-24M79
O-RING
|
1 | Ask on WhatsApp |
| 28 |
94702-00429
PLUG, SPARK (NGK LKR7E)
|
4 |
Price:
32.03 AED
In stock
(439 pcs)
|