F200BET'19

Section 29: POWER TRIM & TILT ASSY 2 COMPONER Y PODER VARILLA 2 (v2)

Model code: 6S1F
Section 29 β€” POWER TRIM & TILT ASSY 2 COMPONER Y PODER VARILLA 2
F200BET'19
100%
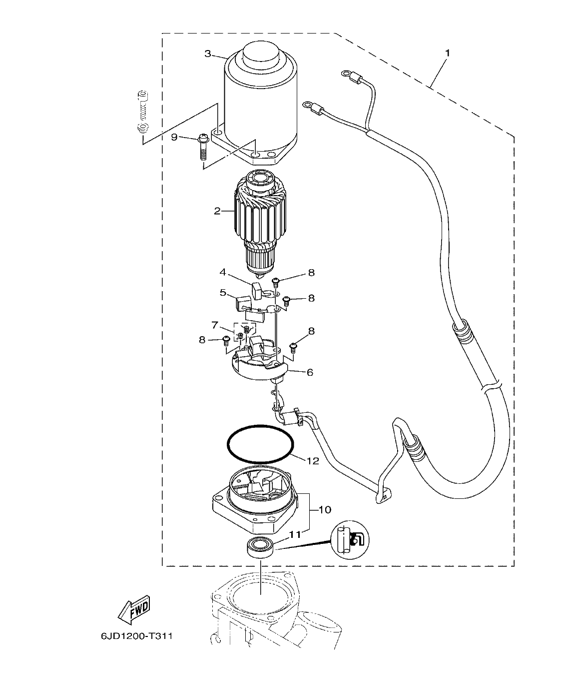
F200BET'19 – section 29 POWER TRIM & TILT ASSY 2 COMPONER Y PODER VARILLA 2 parts diagram
Diagram image Open full size
Parts list
Section 29
Ref Part No. / Description Qty Buy
1
69J-43880-10
MOTOR ASSY
1
2
6GR-43805-00
.ARMATURE ASSY
1
3
6GR-43804-00
.STATOR ASSY
1
4
6GR-43892-00
.BRUSH 2
1
145.25 AED
πŸ”“ Unlock Discounts
Stock 38
5
6GR-82181-00
.CIRCUIT BREAKER COMP.
1
755.31 AED
πŸ”“ Unlock Discounts
Stock 24
6
6GR-4380F-00
.PLATE, BRUSH HOLDER
1
7
6GR-4386K-00
.SPRING, BRUSH
1
246.56 AED
πŸ”“ Unlock Discounts
Stock 5
8
97602-04310
.SCREW, PAN HEAD WITH WASHER
4
9
67C-43879-10
.SCREW, WITH WASHER
2
10
69J-43881-10
.FRAME, END
1
11
6GR-43882-00
..OIL SEAL
1
12
6GR-43864-00
.O-RING
1