πŸŒ™ Ψ±Ω…ΨΆΨ§Ω† ΩƒΨ±ΩŠΩ… ✨
✨ Ramadan Working Hours: 9:00 AM – 3:00 PM ✨

F200BET'19

Section 54: REPAIR KIT 2 ESTUCHE REPARATION 2 (v2)

Model code: 6S1F
Section 54 β€” REPAIR KIT 2 ESTUCHE REPARATION 2
F200BET'19
100%
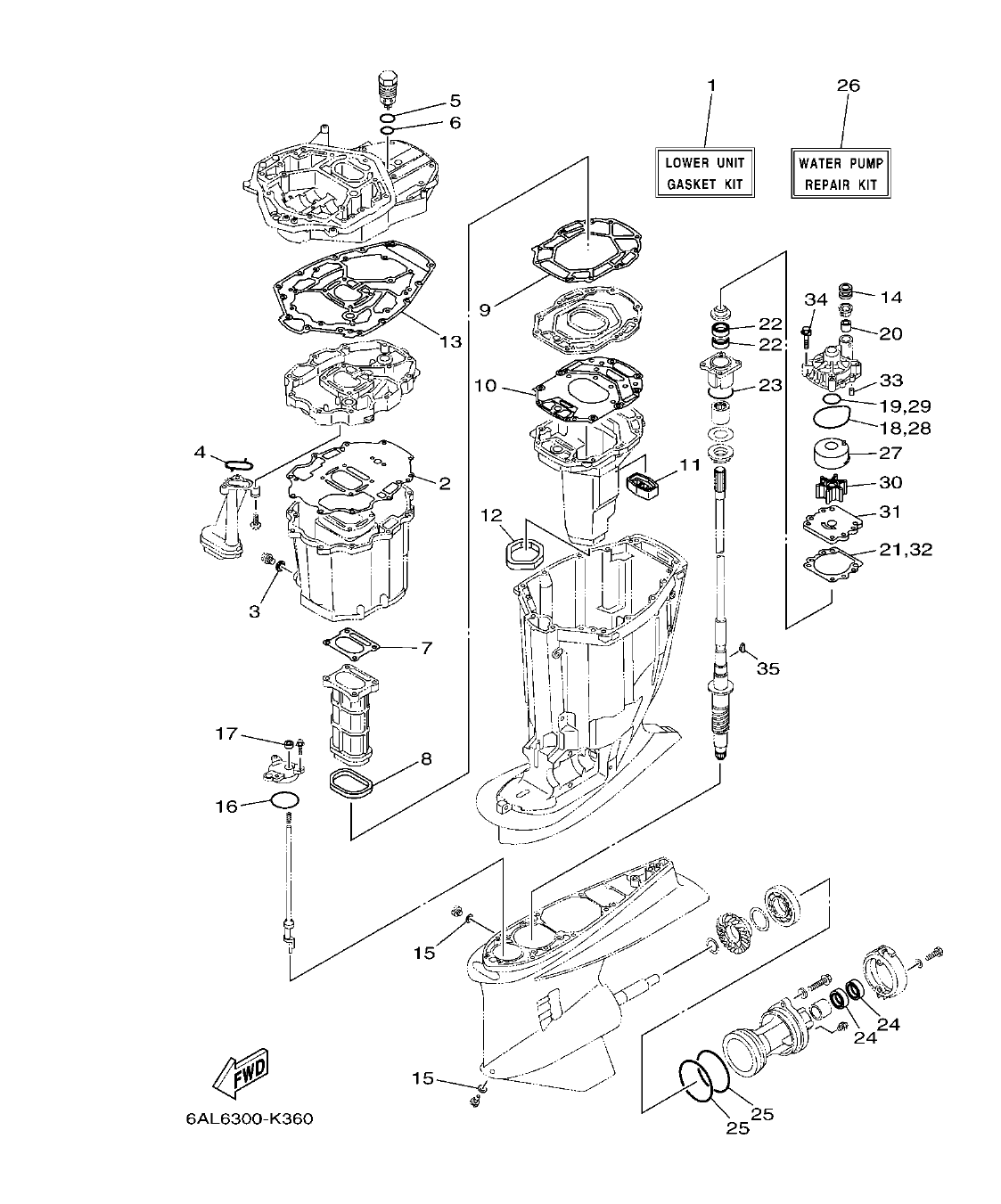
F200BET'19 – section 54 REPAIR KIT 2 ESTUCHE REPARATION 2 parts diagram
Diagram image Open full size
Parts list
Section 54
Ref Part No. / Description Qty Buy
1
6P2-W0001-22
LOWER UNIT GASKET KIT
1
1,001.86 AED
πŸ”“ Unlock Discounts
Stock 35
2
69J-15312-02
.GASKET, OIL PAN
1
3
90430-14M09
.GASKET
1
3.72 AED
πŸ”“ Unlock Discounts
Stock 467
4
69J-13415-00
.SEAL, OIL STRAINER
1
5
93210-347A1
.O-RING
1
2.98 AED
πŸ”“ Unlock Discounts
Stock 34
6
93210-28543
.O-RING
1
2.98 AED
πŸ”“ Unlock Discounts
Stock 5
7
6P2-41134-00
.GASKET, EXHAUST MANIFOLD
1
10.43 AED
πŸ”“ Unlock Discounts
Stock 20
8
69J-41138-00
.SEAL, EXT. 1
1
9
69J-41135-A0
.GASKET, EXHAUST MANIFOLD
1
10
6S1-41136-00
.GASKET, EXHAUST MANIFOLD 4
1
11
69J-45127-00
.SEAL
1
12
69J-45123-00
.GASKET, MUFFLER
1
45.44 AED
πŸ”“ Unlock Discounts
Stock 4 (Ask)
13
69J-45113-21
.GASKET, UPPER CASING
1
227.93 AED
πŸ”“ Unlock Discounts
Stock 4 (Ask)
14
6E5-44366-00
.DAMPER, WATER SEAL 2
1
15
90430-08003
.GASKET
2
2.98 AED
πŸ”“ Unlock Discounts
Stock 98
16
93210-64488
.O-RING
1
5.21 AED
πŸ”“ Unlock Discounts
Stock 7
17
93106-09014
.OIL SEAL
1
8.19 AED
πŸ”“ Unlock Discounts
Stock 5
18
93210-86M38
.O-RING
1
17.13 AED
πŸ”“ Unlock Discounts
Stock 339
19
93210-37160
.O-RING
1
20
6E5-44365-00
.DAMPER, WATER SEAL 1
1
21
6E5-44315-A0
.GASKET, WATER PUMP
1
12.66 AED
πŸ”“ Unlock Discounts
Stock 640
22
93101-28M16
.OIL SEAL
2
15.64 AED
πŸ”“ Unlock Discounts
Stock 1 (Ask)
23
93210-55M14
.O-RING
1
24
93101-30002
.OIL SEAL
2
49.16 AED
πŸ”“ Unlock Discounts
Stock 355
25
93211-04384
.O-RING
2
9.68 AED
πŸ”“ Unlock Discounts
Stock 471
26
6S1-W0078-00
WATER PUMP REPAIR KIT
1
27
6R3-44322-42
.INSERT, CARTRIDGE
1
372.44 AED
πŸ”“ Unlock Discounts
Stock 30
28
93210-86M38
.O-RING
1
17.13 AED
πŸ”“ Unlock Discounts
Stock 339
29
93210-37160
.O-RING
1
30
6E5-44352-01
.IMPELLER
1
97.58 AED
πŸ”“ Unlock Discounts
Stock 2 (Ask)
31
6G5-44323-41
.OUTER PLATE, CARTRIDGE
1
235.38 AED
πŸ”“ Unlock Discounts
Stock 45
32
6E5-44315-A0
.GASKET, WATER PUMP
1
12.66 AED
πŸ”“ Unlock Discounts
Stock 640
33
93606-12019
.PIN, DOWEL
2
6.70 AED
πŸ”“ Unlock Discounts
Stock 292
34
90119-08M14
.BOLT, WITH WASHER
4
6.70 AED
πŸ”“ Unlock Discounts
Stock 2 (Ask)
35
90280-04M05
.KEY, WOODRUFF
1
23.09 AED
πŸ”“ Unlock Discounts
Stock 1 (Ask)