F15B'04
Section 2: CYLINDER & CRANKCASE 1 CILINDRO & CARTER 1 (v2)
Model code: 6D41
Parts list
Section 2
| Ref | Part No. / Description | Qty | Buy |
|---|---|---|---|
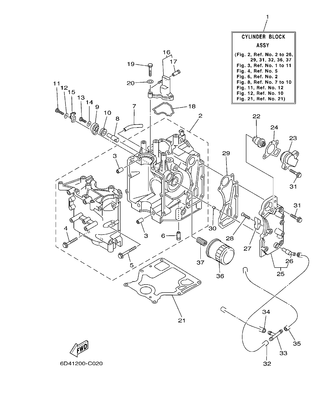
| 1 |
66M-W009B-04-1S
CYLINDER BLOCK ASSY 1
|
1 | |
| 2 |
66M-15100-02-1S
CRANKCASE ASSY 1
|
1 | |
| 3 |
99510-10114
.PIN, DOWEL 2
|
2 | |
| 4 |
90119-08M66
.BOLT, WITH WASHER 4
|
4 | |
| 5 |
90119-06M14
.BOLT, WITH WASHER 6
|
6 | |
| 6 |
6E5-24377-00
.PIPE, JOINT 3 1
|
1 | |
| 7 |
90445-10M46
HOSE (L65) 1
|
1 | |
| 8 |
66M-11325-00
ANODE 1
|
1 | |
| 9 |
66M-11327-00-94
COVER, ANODE 1
|
1 | |
| 10 |
66M-11328-00
GROMMET, ANODE 1
|
1 | |
| 11 |
97095-06020
BOLT 1
|
1 | |
| 12 |
92995-06600
WASHER 1
|
1 | |
| 13 |
97095-05012
BOLT 1
|
1 | |
| 14 |
92995-05600
WASHER 1
|
1 | |
| 15 |
66M-12535-00
PLATE 1
|
1 | |
| 16 |
66M-11168-00-1S
COVER, BREATHER 1
|
1 | |
| 17 |
6E5-24377-00
.PIPE, JOINT 3 1
|
1 | |
| 18 |
66M-11357-00
SEAL, CYLINDER 3 1
|
1 | |
| 19 |
97095-06020
BOLT 3
|
3 | |
| 20 |
92995-06600
WASHER 3
|
3 | |
| 21 |
66M-11351-10
GASKET, CYLINDER 1
|
1 | |
| 22 |
66M-12411-00
THERMOSTAT 1
|
1 | |
| 23 |
6H3-12413-00-1S
COVER, THERMOSTAT 1
|
1 | |
| 24 |
62Y-12414-00
GASKET, COVER 1
|
1 | |
| 25 |
66M-41113-20-1S
OUTER COVER, EXHAUST 1
|
1 | |
| 26 |
676-11372-00
.NIPPLE, HOSE 1
|
1 |
18.62 AED
Check price & stock on WhatsApp
|
| 27 |
6E5-11325-00
ANODE 1
|
1 | |
| 28 |
98780-04015
SCREW, FLAT HEAD 1
|
1 | |
| 29 |
66M-41114-01
GASKET, EXHAUST OUTER COVER 1
|
1 | |
| 30 |
93604-12M07
PIN, DOWEL 2
|
2 | |
| 31 |
90119-06MA4
BOLT, WITH WASHER 7
|
7 |
2.98 AED
Check price & stock on WhatsApp
|
| 32 |
90445-09061
HOSE (L65) 1
|
1 | |
| 33 |
688-24378-00
PIPE, JOINT 4 1
|
1 | |
| 34 |
90445-09086
HOSE (L170) 1
|
1 | |
| 35 |
90445-09104
HOSE (L300) 1
|
1 | |
| 36 |
5GH-13440-00
ELEMENT ASSY, OIL CLEANER 1
|
1 | |
| 37 |
90401-20M00
BOLT, UNION 1
|
1 |