πŸŒ™ Ψ±Ω…ΨΆΨ§Ω† ΩƒΨ±ΩŠΩ… ✨
✨ Ramadan Working Hours: 9:00 AM – 3:00 PM ✨

DF140A

Section 10: FUEL INJECTOR (v2)

Model code: DF140A-E03-013
Section 10 β€” FUEL INJECTOR
DF140A
100%
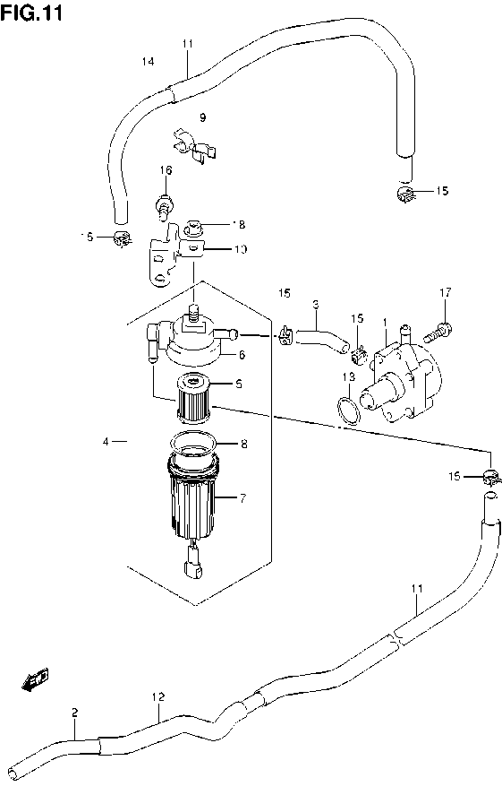
DF140A – section 10 FUEL INJECTOR parts diagram
Diagram image Open full size
Parts list
Section 10
Ref Part No. / Description Qty Buy
1
15681-92J00
HOSE, FUEL (SEPARATOR TO DLVY)
1 WhatsApp
1
15100-90J11
PUMP, FUEL
1
Price: 418.62 AED
In stock (25)
2
15710-82K50
INJECTOR, FUEL
4
Price: 335.20 AED
In stock (9)
2
15190-92J00
HOSE, FUEL (JOINT TO FILTER)
1 WhatsApp
3
09343-70503-600
HOSE (7X12X600)
1 WhatsApp
3
15716-65DT0
.GROMMET SET
4 WhatsApp
4
15410-92J00
FILTER, FUEL
1 WhatsApp
4
15735-58B00
INSULATOR, DELIVERY PIPE
2 WhatsApp
5
15412-92J00
.FILTER. FUEL
1
Price: 37.24 AED
In stock (412)
5
15751-92J00
PIPE, DELIVERY
1 WhatsApp
6
18498-99E20
PROTECTOR
1 WhatsApp
6
15411-92J00
.CAP, FUEL FILTER
1 WhatsApp
7
09168-12013
GASKET (11.8X22X1.2)
3
Price: 5.21 AED
Out
WhatsApp
7
15413-92J00
.CASE, FUEL FILTER
1 WhatsApp
8
09320-08062
CUSHION
4
Price: 18.62 AED
Out
WhatsApp
8
15415-92J00
.SEAL, FUEL FILTER
1
Price: 18.62 AED
In stock (2)
9
09360-12008
UNION
1 WhatsApp
9
09408-00050
CLIP
1 WhatsApp
10
09363-08004
UNION
1 WhatsApp
10
15421-92J00
BRACKET, FUEL FILTER
1 WhatsApp
11
09401-11425
CLIP
2
Price: 6.70 AED
In stock (72)
11
18498-96J20
PROTECTOR, FUEL HOSE (370)
2 WhatsApp
12
01421-08407
STUD BOLT
2 WhatsApp
12
18498-99E10
PROTECTOR, FUEL HOSE (610)
1 WhatsApp
13
01550-12167
BOLT
1 WhatsApp
13
09280-26005
O RING (D:2.4,ID:26.2)
1
Price: 6.70 AED
In stock (78)
14
08316-10087
NUT
2
Price: 3.72 AED
In stock (11)
14
15192-92J00
HOSE, FUEL (PUMP TO SEPARATOR)
1 WhatsApp
15
09401-11423
CLIP
5
Price: 3.72 AED
In stock (10)
16
01550-08207
BOLT
1 WhatsApp
17
01550-06257
BOLT
2 WhatsApp
18
08316-10087
NUT
1
Price: 3.72 AED
In stock (11)