πŸŒ™ Ψ±Ω…ΨΆΨ§Ω† ΩƒΨ±ΩŠΩ… ✨
✨ Ramadan Working Hours: 9:00 AM – 3:00 PM ✨

DF140A

Section 25: STARTING MOTOR (v2)

Model code: DF140A-E03-013
Section 25 β€” STARTING MOTOR
DF140A
100%
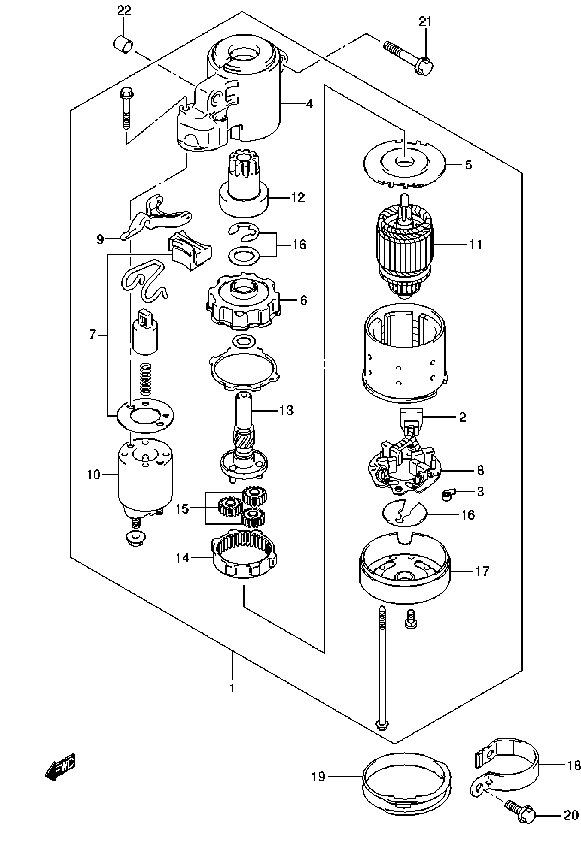
DF140A – section 25 STARTING MOTOR parts diagram
Diagram image Open full size
Parts list
Section 25
Ref Part No. / Description Qty Buy
1
31100-90J01
STARTING MOTOR
1 WhatsApp
2
31131-90J01
.BRUSH SET, PLUS
1 WhatsApp
3
31135-90J00
.SPRING
4 WhatsApp
4
31151-90J00
.CASE, GEAR
1 WhatsApp
5
31152-90J00
.PLATE, CENTER
1 WhatsApp
6
31153-90J00
.BRACKET, PLANET GEAR
1 WhatsApp
7
31171-90J00
.COVER KIT, DUST
1 WhatsApp
8
31173-90J01
.HOLDER, BRUSH
1 WhatsApp
9
31191-90J00
.LEVER, SHIFT
1 WhatsApp
10
31220-90J00
.SWITCH, MAGNET
1 WhatsApp
11
31310-90J00
.ARMATURE
1 WhatsApp
12
31320-90J00
.PINION
1 WhatsApp
13
31341-90J00
.SHAFT, PINION
1 WhatsApp
14
31343-90J00
.INTERNAL GEAR
1 WhatsApp
15
31344-90J00
.GEAR, PLANETARY
3
Price: 81.19 AED
In stock (2)
16
31360-90J00
.WASHER SET
1 WhatsApp
17
31170-90J00
.COVER ASSY, REAR
1 WhatsApp
18
31912-90J00
BAND, STARTING MOTOR
1 WhatsApp
19
31918-90J10
DAMPER, LOWER
1
Price: 16.39 AED
In stock (3)
20
01550-08207
BOLT
2 WhatsApp
21
01550-10507
BOLT
2 WhatsApp
22
04211-13149
PIN
2
Price: 6.70 AED
In stock (18)