πŸŒ™ Ψ±Ω…ΨΆΨ§Ω† ΩƒΨ±ΩŠΩ… ✨
✨ Ramadan Working Hours: 9:00 AM – 3:00 PM ✨

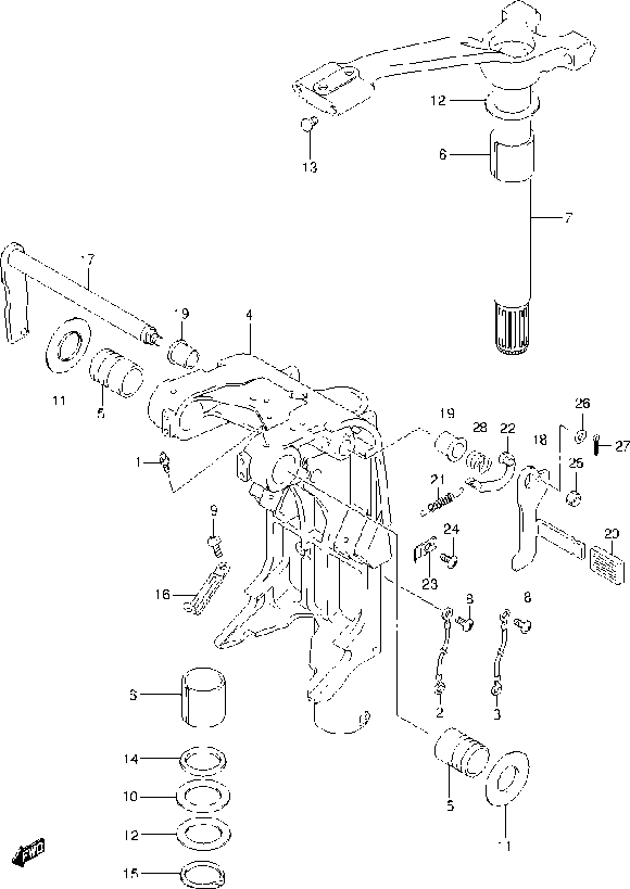
DF140A

Section 32: CLAMP BRACKET (v2)

Model code: DF140A-E03-013
Section 32 β€” CLAMP BRACKET
DF140A
100%
DF140A – section 32 CLAMP BRACKET parts diagram
Diagram image Open full size
Parts list
Section 32
Ref Part No. / Description Qty Buy
1
41111-92J03-0EP
BRACKET, CLAMP STBD (BLACK)
1 WhatsApp
2
41121-92J20-0EP
BRACKET, CLAMP PORT (BLACK)
1 WhatsApp
3
41130-92J30
SHAFT, CLAMP BRKT
1 WhatsApp
4
41135-92J00
WASHER, CLAMP BRACKET SHAFT
1 WhatsApp
5
41153-94500
CAP, TRANSOM BOLT
4 WhatsApp
6
55320-94900
ZINC, PROTECTION
1
Price: 87.90 AED
In stock (44)
7
09116-06121
.BOLT (6X25)
2
Price: 8.19 AED
In stock (9)
8
09100-12090
BOLT (12X150)
4 WhatsApp
9
09125-06063
SCREW (6X10)
1
Price: 2.98 AED
In stock (15)
10
09159-12014
NUT
4
Price: 8.94 AED
In stock (19)
11
09159-22006
NUT
1 WhatsApp
12
09160-12044
WASHER (12.5X35X3.2)
4 WhatsApp
13
09160-12110
WASHER (12.5X22X3)
4
Price: 8.19 AED
In stock (10)
14
09106-10065
BOLT (10X20)
2 WhatsApp
15
09160-10082
WASHER (10.5X19X2)
2
Price: 2.98 AED
In stock (5)
16
45421-87D02
PIN, TILT LOCK
1 WhatsApp
17
09159-14020
NUT
2
Price: 6.70 AED
In stock (6)
18
29404-93J10
CLAMP
1 WhatsApp
19
09116-08137
BOLT (8X22)
1
Price: 11.17 AED
In stock (20)