πŸŒ™ Ψ±Ω…ΨΆΨ§Ω† ΩƒΨ±ΩŠΩ… ✨
✨ Ramadan Working Hours: 9:00 AM – 3:00 PM ✨

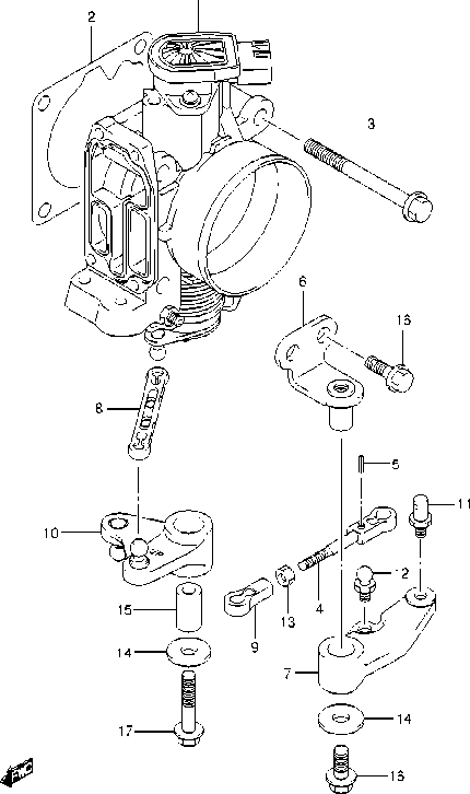
DF140A

Section 15: THROTTLE BODY (v2)

Model code: DF140A-E03-013
Section 15 β€” THROTTLE BODY
DF140A
100%
DF140A – section 15 THROTTLE BODY parts diagram
Diagram image Open full size
Parts list
Section 15
Ref Part No. / Description Qty Buy
1
13300-92J00
BODY ASSY, THROTTLE
1 WhatsApp
2
13421-90J01
GASKET, THROTTLE BODY
1 WhatsApp
3
01550-08557
BOLT
4 WhatsApp
4
13510-90J00
ROD, THROTTLE
1 WhatsApp
5
09205-02006
.SPRING PIN (2X12)
1
Price: 4.47 AED
In stock (22)
6
19115-90J00
HOLDER, THROTTLE LEVER
1 WhatsApp
7
19121-90J00
LEVER, THROTTLE NO.1
1 WhatsApp
8
19130-92J00
ROD, THROTTLE NO.2
1 WhatsApp
9
19131-95502
CONNECTOR, THROTTLE ROD
1
Price: 15.64 AED
In stock (89)
10
19140-92J00
LEVER, THROTTLE NO.2
1 WhatsApp
11
67473-89J00
PIN, CONNECTOR
1 WhatsApp
12
09119-05010
PIVOT
1 WhatsApp
13
09140-05005
NUT
1 WhatsApp
14
09160-06046
WASHER (6.5X20X1.5)
2 WhatsApp
15
09180-06186
SPACER (6.2X12.6X21)
1
Price: 17.88 AED
In stock (4)
16
01550-06167
BOLT
3
Price: 5.21 AED
In stock (11)
17
01550-06357
BOLT
1
Price: 7.45 AED
In stock (20)