πŸŒ™ Ψ±Ω…ΨΆΨ§Ω† ΩƒΨ±ΩŠΩ… ✨
✨ Ramadan Working Hours: 9:00 AM – 3:00 PM ✨

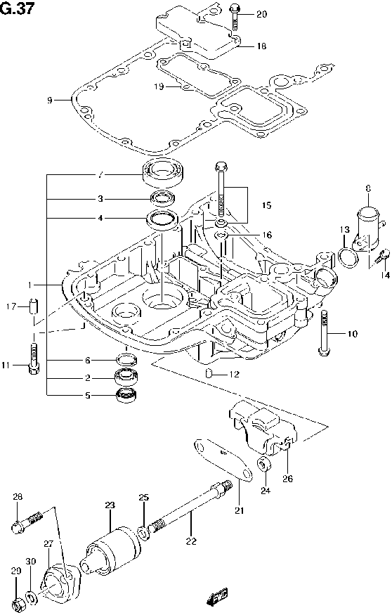
DF140A

Section 37: ENGINE HOLDER (v2)

Model code: DF140A-E03-013
Section 37 β€” ENGINE HOLDER
DF140A
100%
DF140A – section 37 ENGINE HOLDER parts diagram
Diagram image Open full size
Parts list
Section 37
Ref Part No. / Description Qty Buy
1
51110-90850-0EP
HOLDER SET, ENGINE (BLACK)
1 WhatsApp
2
09262-17019
.BEARING (17X35X8)
1
Price: 48.42 AED
In stock (15)
3
09282-24003
.OIL SEAL (24X36X6)
2
Price: 11.17 AED
In stock (69)
4
09283-32044
.OIL SEAL (32X47X6)
1
Price: 33.52 AED
In stock (137)
5
09289-18001
.OIL SEAL (18X30X8)
1
Price: 43.20 AED
In stock (20)
6
08331-41359
.CIRCLIP
1
Price: 3.72 AED
In stock (8)
7
09262-35069
.BEARING (35X62X16)
1
Price: 159.40 AED
In stock (11)
8
51115-90J00
UNION, WATER RETURN
1 WhatsApp
9
51211-90J22
GASKET, ENGINE HOLDER
1
Price: 119.93 AED
In stock (59)
10
09116-08160
BOLT (8X70)
4
Price: 24.58 AED
In stock (12)
11
09116-08128
BOLT (8X40)
4 WhatsApp
12
09206-08001
PIN (8X11)
2
Price: 2.98 AED
In stock (60)
13
09280-26006
O RING (D:3.1, ID:26.4)
1
Price: 4.47 AED
In stock (33)
14
01550-06257
BOLT
1 WhatsApp
15
29117-93J10
BOLT, ENGINE HOLDER
1 WhatsApp
16
09160-08059
WASHER (8.5X18X1.6)
1 WhatsApp
17
04211-11129
PIN
3
Price: 5.21 AED
Out
WhatsApp
18
51122-90J00
COVER, MOUNT CASE
1 WhatsApp
19
51123-90J01
GASKET, MOUNT CASE COVER
1
Price: 26.07 AED
In stock (1)
20
01550-0825A
BOLT
4 WhatsApp
21
54123-90J00
PLATE, UPPER MOUNT
1 WhatsApp
22
54112-90J21
BOLT, UPPER MOUNT
2 WhatsApp
23
54130-90J40
MOUNT, UPPER
2
Price: 113.97 AED
In stock (26)
24
09159-12014
NUT
2
Price: 8.94 AED
In stock (19)
25
54114-90J01
WASHER (12.5X22X3)
2 WhatsApp
26
54125-90J10
MOUNT, UPPER THRUST
1 WhatsApp
27
54148-90J11-0EP
COVER, UPPER MOUNT (BLACK)
2 WhatsApp
28
09116-10176
BOLT (10X44)
4
Price: 13.41 AED
In stock (7)
29
09159-12014
NUT
2
Price: 8.94 AED
In stock (19)
30
09160-12110
WASHER (12.5X22X3)
2
Price: 8.19 AED
In stock (10)