πŸŒ™ Ψ±Ω…ΨΆΨ§Ω† ΩƒΨ±ΩŠΩ… ✨
✨ Ramadan Working Hours: 9:00 AM – 3:00 PM ✨

AG100

Section 6: EXHAUST (v2)

Model code: AG100
Section 6 β€” EXHAUST
AG100
100%
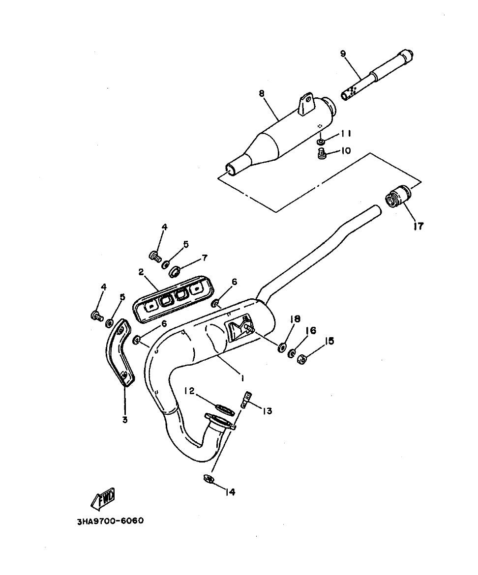
AG100 – section 6 EXHAUST parts diagram
Diagram image Open full size
Parts list
Section 6
Ref Part No. / Description Qty Buy
1
3V6-14610-00
EXHAUST PIPE ASSY 1
1
2
3V6-14718-00
PROTECTOR, MUFFLER 1
1
3
3V6-14728-00
PROTECTOR, MUFFLER 2
1
4
98907-06012
SCREW. BIND
4
5
90202-05187
WASHER, PLATE
4
6
90202-05188
WASHER, PLATE
4
7
90209-06194
WASHER
2
8
3V6-14753-00
SILENCER, EXHAUST
1
9
3T2-14752-00
PIPE. OUTLET
1
10
98507-05008
SCREW. PAN HEAD
1
2.98 AED
πŸ”“ Unlock Discounts
Stock 2 (Ask)
11
92907-05100
WASHER, SPRING
1
3.72 AED
πŸ”“ Unlock Discounts
Stock 5
12
3PA-14613-10
GASKET. EXHAUST PIPE
1
13
90116-06320
BOLT, STUD
2
14
95707-06500
NUT, FLANGE
2
15
95307-08600
NUT
1
16
92907-08100
WASHER. SPRING
1
17
3M7-14615-00
JOINT. EXHAUST 1
1
43.95 AED
πŸ”“ Unlock Discounts
Stock 40
18
90201-08753
WASHER. PLATE
1