AG100
Section 32: TAILLIGHT (v2)
Model code: AG100
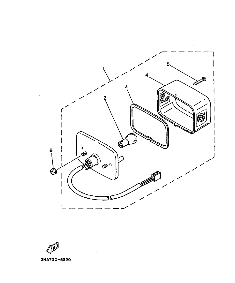
Parts list
Section 32
| Ref | Part No. / Description | Qty | Buy |
|---|---|---|---|
| 1 |
3T2-84510-00
TAILLIGHT UNIT ASSY
|
1 | |
| 2 |
122-84514-30
.BULB (6V-17/5.3W)
|
1 | |
| 3 |
1K8-84523-00
.GASKET, LENS
|
1 | |
| 4 |
1K8-84521-00
.LENS, TAILLIGHT
|
1 | |
| 5 |
2E9-84524-00
.SCREW, LENS FITTING
|
2 | |
| 6 |
95707-06500
NUT, FLANGE
|
2 |