YFM25RD
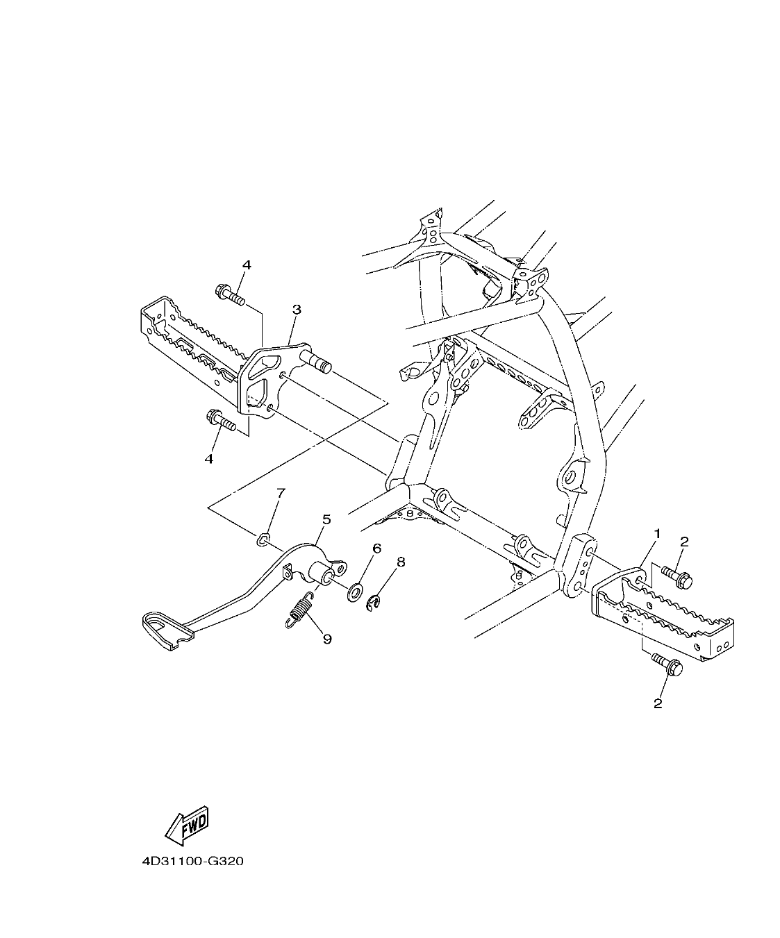
Section 32: STAND & FOOTREST (v2)
Model code: 1BTM
Parts list
Section 32
| Ref | Part No. / Description | Qty | Buy |
|---|---|---|---|
| 1 |
4D3-27411-00
FOOTREST 1
|
1 | |
| 2 |
95812-10020
BOLT, FLANGE
|
2 | |
| 3 |
4D3-27421-00
FOOTREST 2
|
1 | |
| 4 |
95812-10020
BOLT, FLANGE
|
2 | |
| 5 |
4D3-27211-00
PEDAL, BRAKE
|
1 | |
| 6 |
90201-15018
WASHER, PLATE
|
1 |
7.45 AED
Check price & stock on WhatsApp
|
| 7 |
90206-15021
WASHER, WAVE
|
1 | |
| 8 |
93430-12008
CIRCLIP
|
1 | |
| 9 |
90506-20026
SPRING, TENSION
|
1 |
5.96 AED
Check price & stock on WhatsApp
|