πŸŒ™ Ψ±Ω…ΨΆΨ§Ω† ΩƒΨ±ΩŠΩ… ✨
✨ Ramadan Working Hours: 9:00 AM – 3:00 PM ✨

FL150FET'19

Section 3: CYLINDER & CRANKCASE 1 CILINDRO & CARTER 1 (v2)

Model code: 6BNC
Section 3 β€” CYLINDER & CRANKCASE 1 CILINDRO & CARTER 1
FL150FET'19
100%
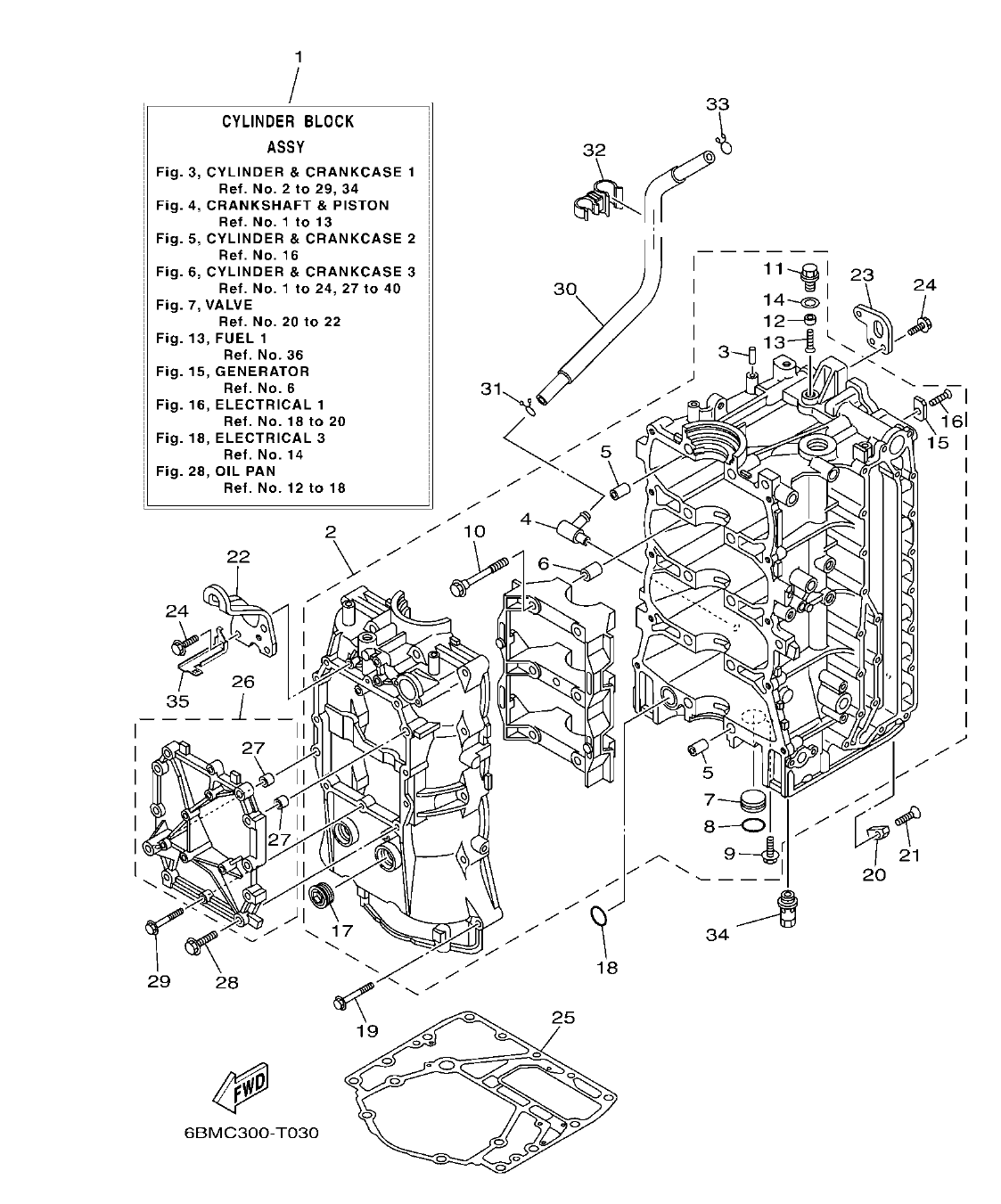
FL150FET'19 – section 3 CYLINDER & CRANKCASE 1 CILINDRO & CARTER 1 parts diagram
Diagram image Open full size
Parts list
Section 3
Ref Part No. / Description Qty Buy
1
6BM-W009B-04-9S
CYLINDER BLOCK ASSY
1
2
63P-W1510-04-9S
CRANKCASE ASSY
1
3
93606-12019
.PIN, DOWEL
1
6.70 AED
πŸ”“ Unlock Discounts
Stock 292
4
63P-11372-00
.NIPPLE, HOSE
1
5
91814-18002
.PIN, DOWEL
4
6
91814-18002
.PIN, DOWEL
6
7
90338-25004
.PLUG
1
8
93210-25647
.O-RING
1
4.47 AED
πŸ”“ Unlock Discounts
Stock 1 (Ask)
9
90119-06M81
.BOLT, WITH WASHER
1
10
90105-10071
.BOLT, FLANGE
10
23.84 AED
πŸ”“ Unlock Discounts
Stock 24
11
63P-11197-00
.PLUG, BLIND
1
12
63P-11325-21
.ANODE
1
13
98780-05016
.SCREW, FLAT HEAD
1
14
90430-14115
.GASKET
1
15
63P-11325-11
.ANODE
4
26.07 AED
πŸ”“ Unlock Discounts
Stock 22
16
90151-06M02
.SCREW, COUNTERSUNK
4
3.72 AED
πŸ”“ Unlock Discounts
Stock 19
17
90340-27129
.PLUG, STRAIGHT SCREW
2
18
93210-25552
O-RING
1
9.68 AED
πŸ”“ Unlock Discounts
Stock 124
19
90119-08M66
BOLT, WITH WASHER
10
20
63P-11325-01
ANODE
1
30.54 AED
πŸ”“ Unlock Discounts
Stock 54
21
90151-06M02
SCREW, COUNTERSUNK
1
3.72 AED
πŸ”“ Unlock Discounts
Stock 19
22
63P-11119-00
HANGER, ENGINE
1
23
63P-11119-10
HANGER, ENGINE
1
24
90119-06MA2
BOLT, WITH WASHER
5
2.98 AED
πŸ”“ Unlock Discounts
Stock 15
25
63P-11351-03
GASKET, CYLINDER
1
377.65 AED
πŸ”“ Unlock Discounts
Stock 5
26
6BM-11511-00-94
COVER, CRANK
1
27
91811-11001
.PIN, DOWEL
2
28
90119-08022
BOLT, WITH WASHER
10
29
90105-06037
BOLT, FLANGE
2
30
63P-11377-10
HOSE
1
31
90467-15M14
CLIP
1
32
90464-15007
CLAMP
1
33
90467-15M14
CLIP
1
34
63P-13490-00
RELIEF VALVE ASSY
1
437.99 AED
πŸ”“ Unlock Discounts
Stock 7
35
63P-82588-00
PLATE
1