FL150FET'19
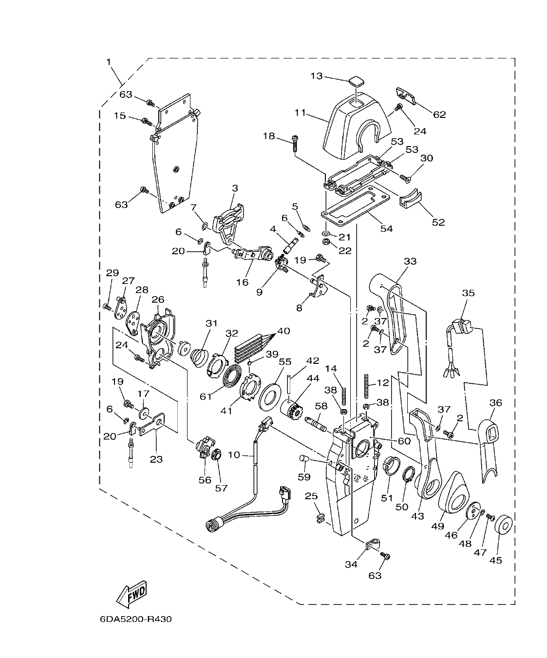
Section 36: REMOTE CONTROL ASSY 2 CONTROL REMOTO COMPL 2 (v2)
Model code: 6BNC
Section 36 β REMOTE CONTROL ASSY 2 CONTROL REMOTO COMPL 2
FL150FET'19
100%
Diagram image
Open full size
Parts list
Section 36
| Ref | Part No. / Description | Qty | Buy |
|---|---|---|---|
| 1 |
704-48205-R0
REMOTE CONTROL ASSY (R/H)
AP CAR WITH PT/T SW.
|
1 | |
| 2 |
704-48129-11
.SCREW
|
3 | |
| 3 |
EL8-48251-00
.PLATE, CAM
|
1 | |
| 4 |
704-48265-00
.SHAFT, FRICTION
|
1 | |
| 5 |
701-48246-00
.SPACER
|
1 | |
| 6 |
93430-06024
.CIRCLIP
|
4 | |
| 7 |
EL8-48259-00
.CIRCLIP
|
1 | |
| 8 |
704-48262-00
.SHAFT, THROTTLE
|
1 | |
| 9 |
704-48264-00
.THROTTLE, FRICTION
|
1 | |
| 10 |
704-82540-40
.NEUTRAL SWITCH ASSY
|
1 | |
| 11 |
704-48119-50
.COVER
|
1 | |
| 12 |
EL8-48281-00
.SCREW
|
1 | |
| 13 |
704-48215-60
.GRAPHIC
|
1 | |
| 14 |
704-48281-00
.SCREW
|
1 | |
| 15 |
97890-05025
.SCREW, PAN HEAD
|
2 | |
| 16 |
704-48261-00
.ARM, THROTTLE
|
1 | |
| 17 |
EL8-48191-00
.WASHER
|
1 | |
| 18 |
704-48283-00
.SCREW
|
4 | |
| 19 |
97380-06018
.BOLT
|
3 | |
| 20 |
703-48345-01
.CABLE END, REMOTE CONTROL
|
2 | |
| 21 |
704-48287-00
.WASHER
|
4 | |
| 22 |
95380-05600
.NUT
|
4 | |
| 23 |
704-48271-00
.ARM, SHIFT
|
1 | |
| 24 |
EL8-48127-00
.SCREW
|
10 | |
| 25 |
703-48358-00
.ANCHOR, CABLE
|
1 | |
| 26 |
704-48231-00
.HOUSING, GEAR
|
1 | |
| 27 |
EL8-48241-00
.ARM, DRIVE
|
1 | |
| 28 |
EL8-48254-00
.STOPPER, THROTTLE ADJUSTING
|
1 | |
| 29 |
92780-06020
.SCREW, FLAT HEAD
|
2 | |
| 30 |
98780-05018
.SCREW, FLAT HEAD
|
4 | |
| 31 |
EL8-48244-00
.SPRING, FREE ACCEL.
|
1 | |
| 32 |
EL8-48245-00
.PLATE, LOCK
|
1 | |
| 33 |
704-48222-10
.GRIP, CONTROL LEVER
|
1 | |
| 34 |
704-82594-00
.CLAMP
|
1 | |
| 35 |
704-82563-60
.TRIM & TILT SWITCH ASSY
|
1 | |
| 36 |
704-48229-30
.GRIP, CONTROL LEVER
|
1 | |
| 37 |
92990-05300
.WASHER, INTERNAL TOOTH
|
3 | |
| 38 |
95380-06600
.NUT, HEXAGON
|
2 | |
| 39 |
701-48248-00
.ROLLER, FREE ACCEL.
|
1 | |
| 40 |
704-48238-00
.SPRING, DETENT
|
5 | |
| 41 |
704-48232-P1
.GEAR
|
1 | |
| 42 |
EL8-48164-00
.PIN
|
1 | |
| 43 |
704-48221-R0
.LEVER, CONTROL
|
1 | |
| 44 |
704-48242-10
.SHAFT, DRIVE
|
1 | |
| 45 |
704-48225-R0
.COVER
|
1 | |
| 46 |
704-48192-00
.WASHER
|
1 | |
| 47 |
97890-06018
.SCREW, PAN HEAD
|
2 | |
| 48 |
92990-06300
.WASHER, INTERNAL TOOTH
|
2 | |
| 49 |
704-48224-R0
.COVER, CONTROL LEVER
|
1 | |
| 50 |
EL8-48279-00
.CIRCLIP
|
1 | |
| 51 |
704-48234-00
.BUSHING
|
1 | |
| 52 |
704-48219-R0
.COVER, LEAD
|
1 | |
| 53 |
704-48144-10
.PLATE, STOPPER
|
2 | |
| 54 |
704-48176-00
.GROMMET
|
1 | |
| 55 |
704-48192-P0
.WASHER
|
1 | |
| 56 |
704-48233-00
.GEAR
|
1 | |
| 57 |
704-48235-00
.BUSHING
|
1 | |
| 58 |
704-48153-00
.SHAFT, FREE ACCEL.
|
1 | |
| 59 |
704-48166-00
.PLUG
|
1 | |
| 60 |
704-48284-P0
.GROMMET
|
1 | |
| 61 |
704-48178-10
.PLATE, SHIFT
|
1 | |
| 62 |
704-48167-20
.PLUG
|
1 | |
| 63 |
97890-05016
.SCREW, PAN HEAD
|
3 |