FL150FET'19
Section 17: ELECTRICAL 2 EQUIPO ELECTRICO 2 (v2)
Model code: 6BNC
Parts list
Section 17
| Ref | Part No. / Description | Qty | Buy |
|---|---|---|---|
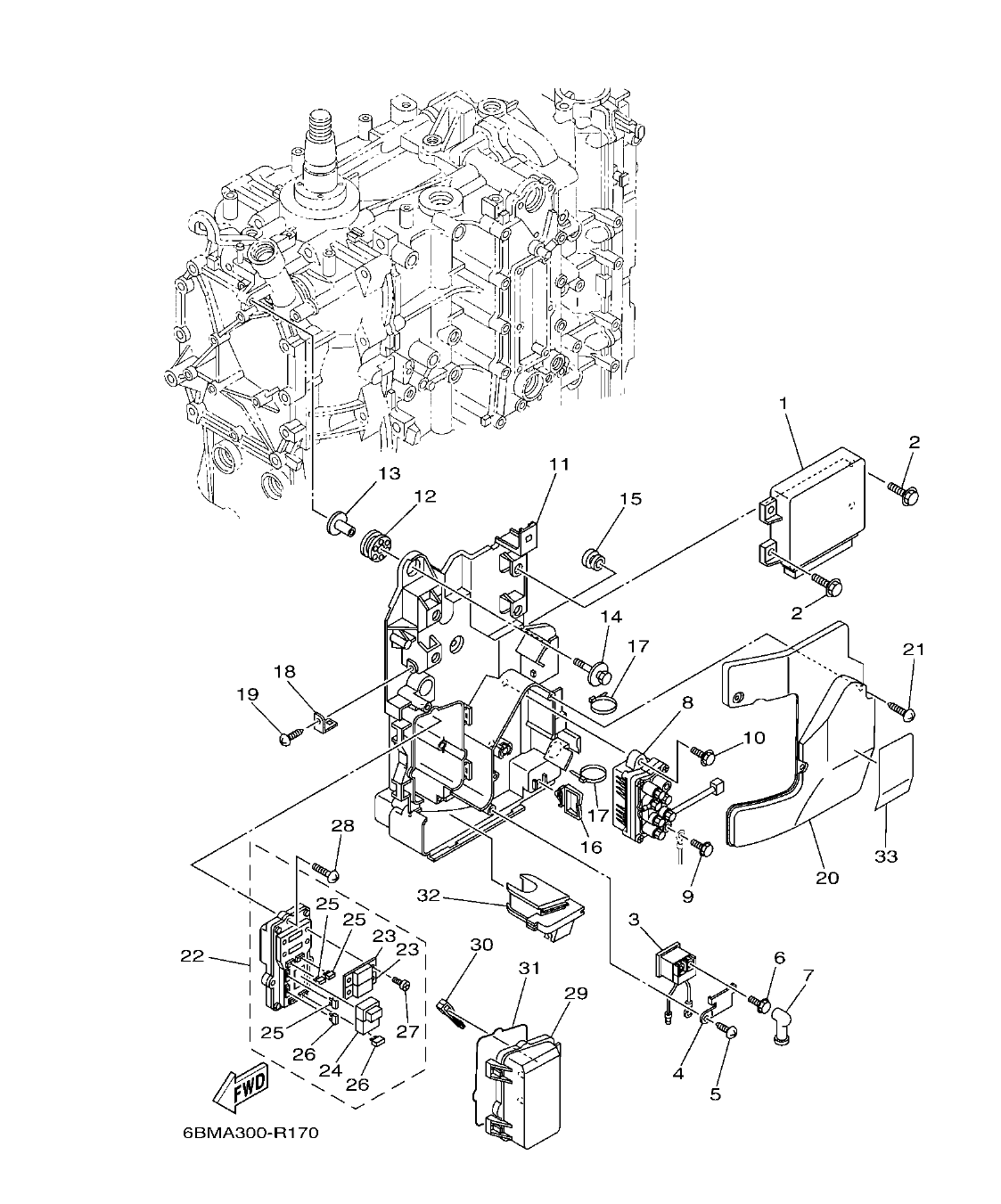
| 1 |
6BM-8591A-04
ENGINE CONTROL UNIT ASSY
|
1 | |
| 2 |
97E95-06516
BOLT, HEXAGON W/W DEEP RECESS
|
4 | |
| 3 |
68V-8194A-00
RELAY
|
1 |
184.73 AED
Check price & stock on WhatsApp
|
| 4 |
68V-81953-00
STAY, RELAY
|
1 | |
| 5 |
97780-60620
SCREW, TAPPING
|
1 | |
| 6 |
97E95-06610
BOLT, HEXAGON W/W DEEP RECESS
|
2 | |
| 7 |
6G5-82119-00
COVER, LEAD WIRE
|
2 | |
| 8 |
63P-81950-00
RELAY ASSY
|
1 | |
| 9 |
97E95-06610
BOLT, HEXAGON W/W DEEP RECESS
|
2 | |
| 10 |
97513-06520
BOLT, WITH WASHER
|
2 | |
| 11 |
63P-81948-01
BRACKET
|
1 | |
| 12 |
68F-85516-01
SPACER
|
3 | |
| 13 |
90387-06176
COLLAR
|
3 | |
| 14 |
68F-85119-00
BOLT
|
3 | |
| 15 |
90480-10627
GROMMET
|
1 | |
| 16 |
90464-23199
CLAMP
|
1 | |
| 17 |
90465-13M18
CLAMP
|
3 | |
| 18 |
68V-85548-01
HOLDER
|
1 | |
| 19 |
97780-60620
SCREW, TAPPING
|
1 | |
| 20 |
63P-81942-00
COVER
|
1 | |
| 21 |
90169-05M00
SCREW, TRUSS HEAD TAPPING
|
3 | |
| 22 |
63P-82170-02
FUSE BOX ASSY
|
1 | |
| 23 |
63P-82151-00
.FUSE (50A)
|
2 | |
| 24 |
6AW-8195A-00
.RELAY ASSY
|
1 | |
| 25 |
67F-82151-00
.FUSE (20A)
|
3 | |
| 26 |
67F-82151-10
.FUSE (30A)
|
2 | |
| 27 |
68F-82846-00
.SCREW, PAN HEAD (M5)
|
4 | |
| 28 |
97780-50620
SCREW, TAPPING
|
3 | |
| 29 |
60V-85544-00
CASE
|
1 | |
| 30 |
67F-2812A-00
PULLER, FUSE
|
1 | |
| 31 |
68F-82176-00
DAMPER
|
1 |
11.17 AED
Check price & stock on WhatsApp
|
| 32 |
63P-81336-00
GROMMET
|
1 | |
| 33 |
63P-81919-00
GRAPHIC, REGULATOR
|
1 |