FL150FET'19
Section 12: FUEL INJECTION PUMP 2 BOMBA DE INYECTOR 2 (v2)
Model code: 6BNC
Section 12 β FUEL INJECTION PUMP 2 BOMBA DE INYECTOR 2
FL150FET'19
100%
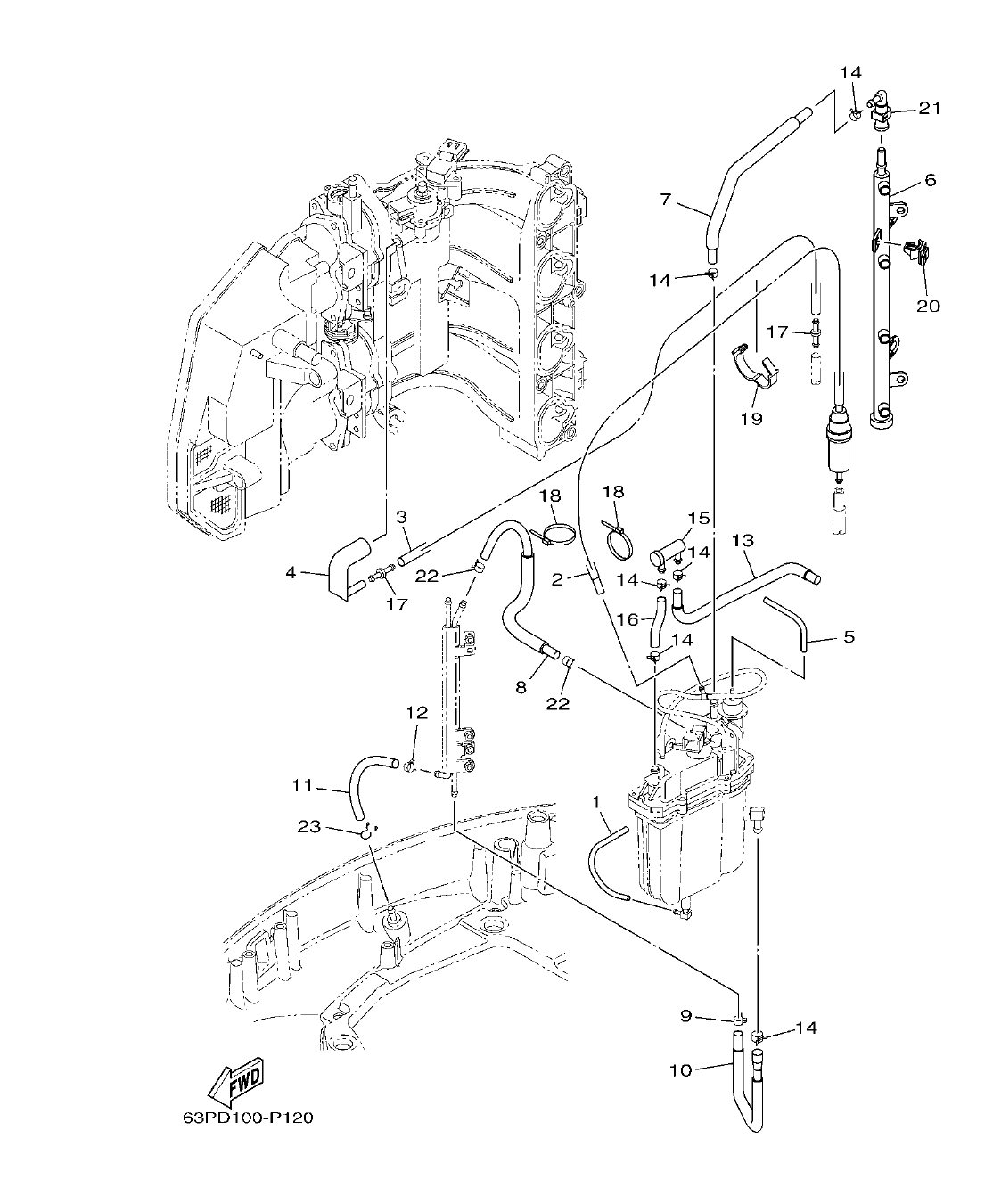
Diagram image
Open full size
Parts list
Section 12
| Ref | Part No. / Description | Qty | Buy |
|---|---|---|---|
| 1 |
63P-14149-00
PIPE
|
1 | |
| 2 |
63P-13971-10
PIPE, FUEL 1
WITH FILTER
|
1 | |
| 3 |
63P-13546-00
HOSE 2
|
1 | |
| 4 |
63P-13545-00
HOSE 1
|
1 | |
| 5 |
63P-13532-10
HOSE, VACUUM SENSING 3
|
1 | |
| 6 |
63P-13160-10
DELIVERY PIPE ASSY 1
|
1 | |
| 7 |
63P-13974-40
PIPE, FUEL 4
|
1 | |
| 8 |
63P-13976-40
PIPE, FUEL 6
EXCEPT FOR CAR
|
1 | |
| 8 |
63P-13976-50
PIPE, FUEL 6
FOR CAR
|
1 | |
| 9 |
68V-2411M-00
CLIP
|
1 | |
| 10 |
63P-24317-30
PIPE 7
EXCEPT FOR CAR
|
1 | |
| 10 |
63P-24317-40
PIPE 7
FOR CAR
|
1 | |
| 11 |
63P-2247B-10
HOSE 2
|
1 | |
| 12 |
68V-24519-00
CLIP
|
1 | |
| 13 |
63P-24325-40
PIPE 14
EXCEPT FOR CAR
|
1 | |
| 13 |
63P-24325-50
PIPE 14
FOR CAR
|
1 | |
| 14 |
68V-13577-00
CLIP
|
6 | |
| 15 |
69J-24501-10
FILTER, FUEL
|
1 | |
| 16 |
63P-13975-40
PIPE, FUEL 5
EXCEPT FOR CAR
|
1 | |
| 16 |
63P-13975-50
PIPE, FUEL 5
FOR CAR
|
1 | |
| 17 |
6P2-13758-00
PIPE, JOINT
|
2 | |
| 18 |
68V-2481H-00
CLAMP
|
2 | |
| 19 |
90464-26001
CLAMP
|
1 | |
| 20 |
90464-12002
CLAMP
|
1 | |
| 21 |
6AW-24300-00
FUEL PIPE JOINT
|
1 | |
| 22 |
63P-24519-00
CLIP
|
2 | |
| 23 |
90467-09M09
CLIP
|
1 |