πŸŒ™ Ψ±Ω…ΨΆΨ§Ω† ΩƒΨ±ΩŠΩ… ✨
✨ Ramadan Working Hours: 9:00 AM – 3:00 PM ✨

MT09TRP

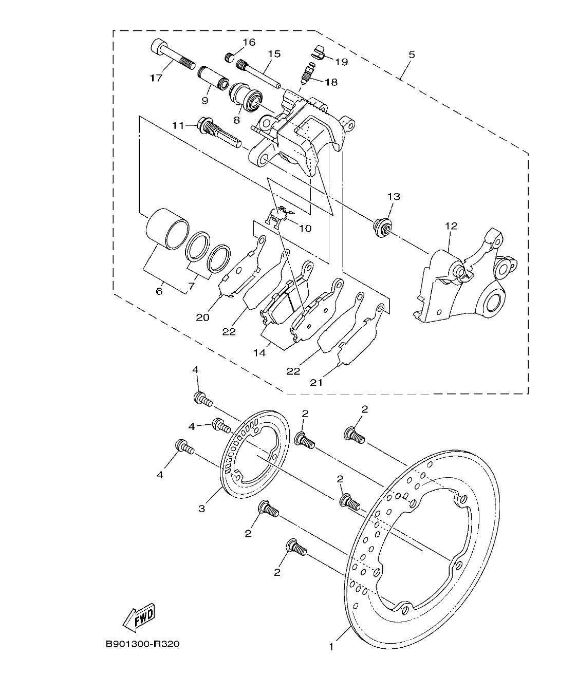
Section 33: REAR BRAKE CALIPER (v2)

Model code: B562
Section 33 β€” REAR BRAKE CALIPER
MT09TRP
100%
MT09TRP – section 33 REAR BRAKE CALIPER parts diagram
Diagram image Open full size
Parts list
Section 33
Ref Part No. / Description Qty Buy
1
1RC-2582W-00
DISK, REAR BRAKE 2
1
169.83 AED
πŸ”“ Unlock Discounts
Stock 4 (Ask)
2
90109-08045
BOLT
5
3
2DR-2517G-00
ROTOR, SENSOR
1
172.81 AED
πŸ”“ Unlock Discounts
Stock 1 (Ask)
4
90149-05029
SCREW
3
5
2DR-2580W-00
CALIPER ASSY, REAR 2
1
682.31 AED
πŸ”“ Unlock Discounts
Stock 2 (Ask)
6
5SL-25802-00
.PISTON ASSY, CALIPER
1
7
5SL-25803-00
..CALIPER SEAL KIT
1
8
5SL-25917-00
.BOOT, CALIPER
1
9
5SL-25838-00
.SLEEVE, CALIPER
1
10
5SL-25919-00
.SUPPORT, PAD
1
11
5SL-25914-00
.PIN, SLIDE
1
12
2DR-25921-50
.BRACKET, SUPPORT
1
13
3JD-25917-00
.BOOT, CALIPER
1
4.47 AED
πŸ”“ Unlock Discounts
Stock 69
14
5VX-25806-00
.BRAKE PAD KIT 2
1
213.78 AED
πŸ”“ Unlock Discounts
Stock 13
15
8CR-25924-00
.PIN, PAD
1
16
5DH-25916-00
.PLUG
1
17
1RC-25926-00
.BOLT
1
18
8CR-25824-00
.SCREW, BLEED
1
19
1UY-25825-51
.CAP
1
20
5SL-25827-00
.SHIM, CALIPER
1
21
5SL-25827-10
.SHIM, CALIPER
1
22
5SL-25828-01
.SHIM, CALIPER
2