πŸŒ™ Ψ±Ω…ΨΆΨ§Ω† ΩƒΨ±ΩŠΩ… ✨
✨ Ramadan Working Hours: 9:00 AM – 3:00 PM ✨

F50DET'04

Section 4: CYLINDER & CRANKCASE 2 CILINDRO & CARTER 2 (v2)

Model code: 60A4
Section 4 β€” CYLINDER & CRANKCASE 2 CILINDRO & CARTER 2
F50DET'04
100%
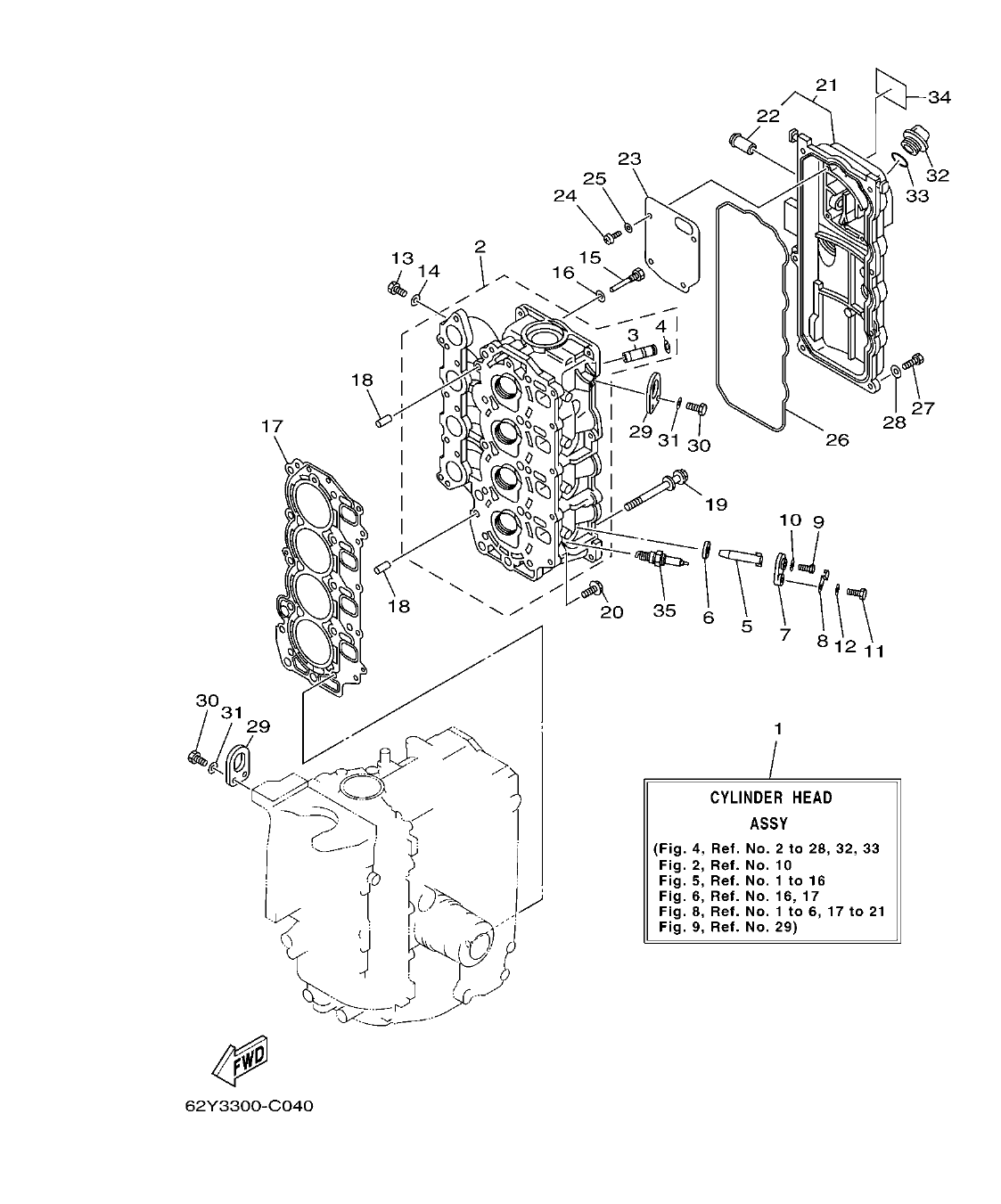
F50DET'04 – section 4 CYLINDER & CRANKCASE 2 CILINDRO & CARTER 2 parts diagram
Diagram image Open full size
Parts list
Section 4
Ref Part No. / Description Qty Buy
1
64J-W009A-01-1S
CYLINDER HEAD ASSY
1
2
64J-11111-00-1S
HEAD, CYLINDER 1
1
3
62Y-11133-30
.GUIDE, VALVE 1
8
4
93450-09M01
.CIRCLIP
8
5
62Y-11325-00
ANODE
4
23.84 AED
πŸ”“ Unlock Discounts
Stock 6
6
66M-11328-00
GROMMET, ANODE
4
7
66M-11327-00-94
COVER, ANODE
4
8
66M-12535-00
PLATE
4
9
97095-05012
BOLT
4
10
92995-05600
WASHER
4
11
97095-06020
BOLT
4
12
92995-06600
WASHER
4
13
97095-06010
BOLT
4
14
90430-06014
GASKET
4
3.72 AED
πŸ”“ Unlock Discounts
Stock 24
15
90109-06M65
BOLT
1
16
90430-06014
GASKET
1
3.72 AED
πŸ”“ Unlock Discounts
Stock 24
17
62Y-11181-00
GASKET, CYLINDER HEAD 1
1
153.45 AED
πŸ”“ Unlock Discounts
Stock 38
18
99530-08012
PIN, DOWEL
2
3.72 AED
πŸ”“ Unlock Discounts
Stock 28
19
90119-09M00
BOLT, WITH WASHER
10
20
90119-06MA3
BOLT, WITH WASHER
5
2.98 AED
πŸ”“ Unlock Discounts
Stock 3 (Ask)
21
62Y-11191-01-1S
COVER, CYLINDER HEAD 1
1
22
62Y-14485-00
.PIPE, JOINT
1
23
62Y-11168-00
COVER, BREATHER
1
24
98507-04010
SCREW, PAN HEAD
4
2.98 AED
πŸ”“ Unlock Discounts
Stock 10
25
92907-04600
WASHER
4
26
62Y-11356-00
SEAL, CYLINDER 2
1
34.26 AED
πŸ”“ Unlock Discounts
Stock 4 (Ask)
27
97095-06020
BOLT
7
28
92995-06600
WASHER
7
29
62Y-11119-00
HANGER, ENGINE
2
30
97095-06020
BOLT
4
31
92995-06600
WASHER
4
32
6G8-15363-00
PLUG, OIL
1
33
93210-24M79
O-RING
1
34
62Y-12138-60
MARK, CAUTION
1
35
94701-00375
PLUG, SPARK (NGK DPR6EA-9)
4
17.88 AED
πŸ”“ Unlock Discounts
Stock 1 (Ask)