πŸŒ™ Ψ±Ω…ΨΆΨ§Ω† ΩƒΨ±ΩŠΩ… ✨
✨ Ramadan Working Hours: 9:00 AM – 3:00 PM ✨

F50DET'04

Section 32: REPAIR KIT 3 ESTUCHE REPARATION 3 (v2)

Model code: 60A4
Section 32 β€” REPAIR KIT 3 ESTUCHE REPARATION 3
F50DET'04
100%
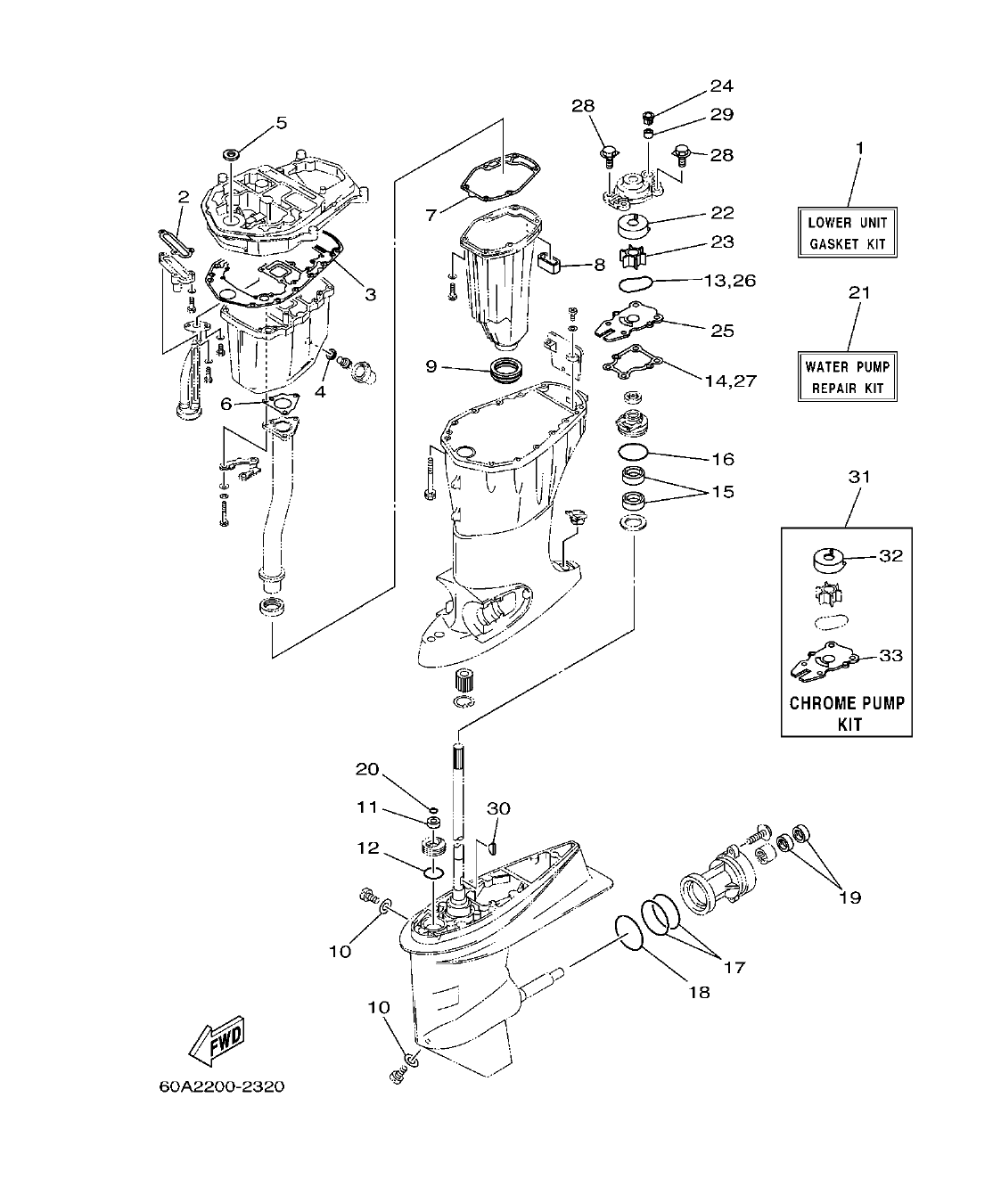
F50DET'04 – section 32 REPAIR KIT 3 ESTUCHE REPARATION 3 parts diagram
Diagram image Open full size
Parts list
Section 32
Ref Part No. / Description Qty Buy
1
60A-W0001-21
LOWER UNIT GASKET KIT
1
2
62Y-13475-00
.GASKET
1
3
69W-15312-00
.GASKET, OIL PAN
1
4
90430-14M09
.GASKET
1
3.72 AED
πŸ”“ Unlock Discounts
Stock 467
5
93103-18011
.OIL SEAL
1
6
64J-41133-10
.GASKET, EXHAUST MANIFOLD 1
1
7
62Y-41134-01
.GASKET, EXHAUST MANIFOLD
1
8
62Y-45127-00
.SEAL
1
9
663-45123-00
.GASKET, MUFFLER
1
10
90430-08020
.GASKET
2
11
93106-09014
.OIL SEAL
1
8.19 AED
πŸ”“ Unlock Discounts
Stock 5
12
93210-33MG4
.O-RING
1
5.21 AED
πŸ”“ Unlock Discounts
Stock 36
13
93210-59MG7
.O-RING
1
8.94 AED
πŸ”“ Unlock Discounts
Stock 38
14
63D-44316-00
.GASKET, WATER PUMP
1
13.41 AED
πŸ”“ Unlock Discounts
Stock 122
15
93101-25M57
.OIL SEAL
2
15.64 AED
πŸ”“ Unlock Discounts
Stock 473
16
93210-48MG8
.O-RING
1
8.19 AED
πŸ”“ Unlock Discounts
Stock 6
17
93210-74MG5
.O-RING
2
18
93210-69MG6
.O-RING
1
11.92 AED
πŸ”“ Unlock Discounts
Stock 43
19
93101-22M00
.OIL SEAL
2
20
93210-07003
.O-RING
1
21
63D-W0078-01
WATER PUMP REPAIR KIT
1
22
63D-44322-00
.INSERT, CARTRIDGE
1
35.01 AED
πŸ”“ Unlock Discounts
Stock 92
23
6H3-44352-00
.IMPELLER
1
63.31 AED
πŸ”“ Unlock Discounts
Stock 542
24
63D-44312-00
.COVER, WATER PUMP HOUSING
1
7.45 AED
πŸ”“ Unlock Discounts
Stock 2 (Ask)
25
63D-44323-00
.OUTER PLATE, CARTRIDGE
1
32.77 AED
πŸ”“ Unlock Discounts
Stock 32
26
93210-59MG7
.O-RING
1
8.94 AED
πŸ”“ Unlock Discounts
Stock 38
27
63D-44316-00
.GASKET, WATER PUMP
1
13.41 AED
πŸ”“ Unlock Discounts
Stock 122
28
90119-08M15
.BOLT, WITH WASHER
4
29
663-44366-00
.DAMPER, WATER SEAL
1
30
90280-03024
.KEY, WOODRUFF
1
11.92 AED
πŸ”“ Unlock Discounts
Stock 114
31
63D-W0078-0A
CHROME PUMP KIT
1
32
63D-44322-40
.INSERT, CARTRIDGE
1
33
63D-44323-40
.OUTER PLATE, CARTRIDGE
1