F50DET'04
Section 9: FUEL COMBUSTIBLE (v2)
Model code: 60A4
Parts list
Section 9
| Ref | Part No. / Description | Qty | Buy |
|---|---|---|---|
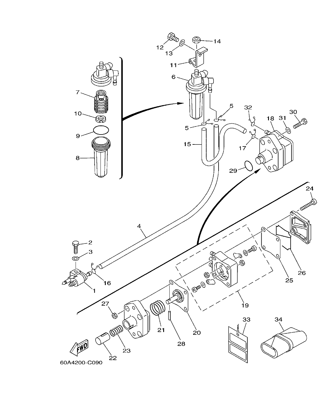
| 1 |
6G1-24304-02
FUEL PIPE JOINT COMP. 1
|
1 | |
| 2 |
97095-06025
BOLT
|
1 | |
| 3 |
92995-06600
WASHER
|
1 | |
| 4 |
90445-10020
HOSE (L590)
|
1 | |
| 5 |
90467-09M17
CLIP
|
2 | |
| 6 |
64J-24560-00
FILTER ASSY
|
1 | |
| 7 |
61N-24563-00
.ELEMENT, FILTER
|
1 | |
| 8 |
68V-24521-01
.CUP, FILTER
|
1 |
27.97 AED
Check price & stock on WhatsApp
|
| 9 |
93210-32738
.O-RING
|
1 | |
| 10 |
68V-24469-01
.FLOAT, WATER LEVEL
|
1 | |
| 11 |
62Y-24566-00
BRACKET, FILTER
|
1 | |
| 12 |
97095-08014
BOLT
|
1 | |
| 13 |
92995-08600
WASHER
|
1 | |
| 14 |
95380-08600
NUT
|
1 |
13.41 AED
Check price & stock on WhatsApp
|
| 15 |
90445-10M48
HOSE (L205)
|
1 | |
| 16 |
90467-09M17
CLIP
|
1 | |
| 17 |
90467-10M04
CLIP
|
1 | |
| 18 |
62Y-24410-03
FUEL PUMP ASSY
|
1 | |
| 19 |
62Y-24415-00
.PUMP BODY SUB ASSY
|
1 | |
| 20 |
62Y-24411-02
.DIAPHRAGM
|
1 | |
| 21 |
62Y-24423-00
.SPRING, DIAPHRAGM
|
1 | |
| 22 |
62Y-13131-01
.PLUNGER
|
1 | |
| 23 |
62Y-24454-00
.SPRING
|
1 | |
| 24 |
62Y-24444-01
.SCREW
|
4 | |
| 25 |
62Y-24471-00
.DIAPHRAGM
|
1 |
46.93 AED
Check price & stock on WhatsApp
|
| 26 |
62Y-24452-00
.PACKING
|
1 | |
| 27 |
95380-05600
.NUT
|
4 | |
| 28 |
62Y-24374-01
.PIN
|
1 | |
| 29 |
93210-24M79
O-RING
|
1 | |
| 30 |
97095-06030
BOLT
|
2 | |
| 31 |
92995-06600
WASHER
|
2 | |
| 32 |
90467-10M04
CLIP
|
2 | |
| 33 |
61H-2819R-31
TAG, WARNING
|
1 | |
| 34 |
62Y-28100-00
TOOL KIT
|
1 |