πŸŒ™ Ψ±Ω…ΨΆΨ§Ω† ΩƒΨ±ΩŠΩ… ✨
✨ Ramadan Working Hours: 9:00 AM – 3:00 PM ✨

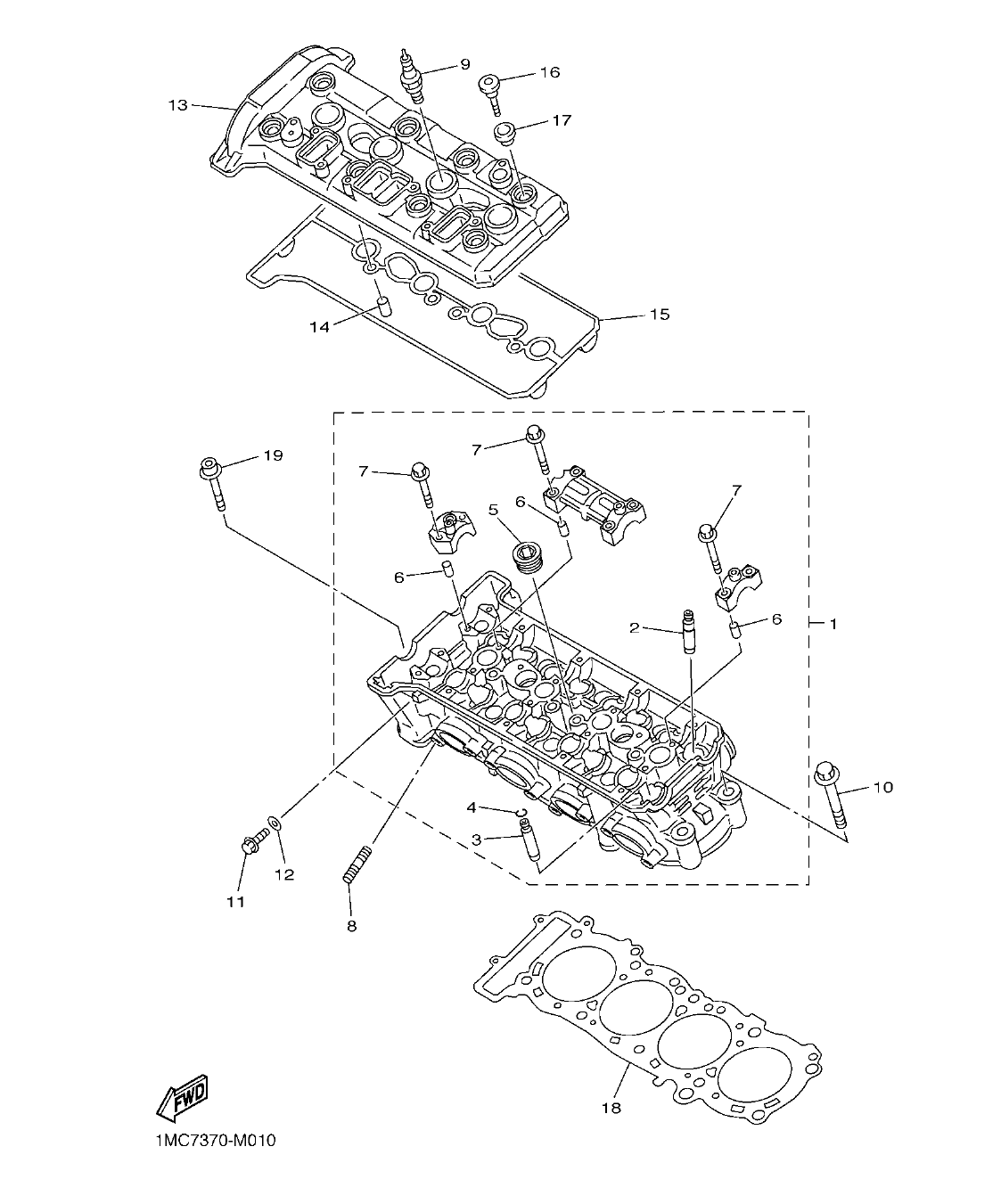
FJR1300AP

Section 1: CYLINDER (v2)

Model code: 2BC2
Section 1 β€” CYLINDER
FJR1300AP
100%
FJR1300AP – section 1 CYLINDER parts diagram
Diagram image Open full size
Parts list
Section 1
Ref Part No. / Description Qty Buy
1
1MC-11102-00
CYLINDER HEAD ASSY
1
2
5JW-11133-10
.GUIDE, VALVE 1
8
3
3P6-11134-10
.GUIDE, VALVE 2
8
4
93440-09141
.CIRCLIP
8
5
90340-27129
.PLUG, STRAIGHT SCREW
1
6
91808-16023
.PIN, DOWEL
16
2.98 AED
πŸ”“ Unlock Discounts
Stock 6
7
90105-06026
.BOLT, FLANGE
20
8
95612-08620
BOLT, STUD
8
9
94701-00415
PLUG, SPARK (NGK CPR8EA-9)
4
30.54 AED
πŸ”“ Unlock Discounts
Stock 100
10
90119-10004
BOLT, WITH WASHER
10
20.11 AED
πŸ”“ Unlock Discounts
Stock 15
11
95022-08012
BOLT, FLANGE
1
12
90430-08119
GASKET
1
2.98 AED
πŸ”“ Unlock Discounts
Stock 4 (Ask)
13
1MC-11191-00
COVER, CYLINDER HEAD 1
1
14
91810-20001
PIN, DOWEL
4
15
1MC-11193-00
GASKET, HEAD COVER 1
1
16
90109-066F0
BOLT
8
7.45 AED
πŸ”“ Unlock Discounts
Stock 29
17
5VY-1111G-00
RUBBER, MOUNT 1
8
14.15 AED
πŸ”“ Unlock Discounts
Stock 35
18
5JW-11181-10
GASKET, CYLINDER HEAD 1
1
19
90110-06385
BOLT, HEXAGON SOCKET HEAD
2