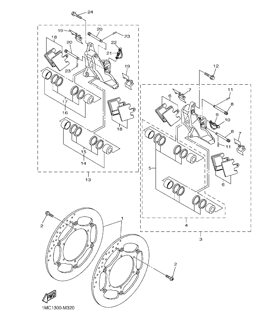
FJR1300AP
Section 32: FRONT BRAKE CALIPER (v2)
Model code: 2BC2
Parts list
Section 32
| Ref | Part No. / Description | Qty | Buy |
|---|---|---|---|
| 1 |
3P6-2581T-01
DISK BRAKE ASSY
|
2 | |
| 2 |
90109-064G6
BOLT
|
12 | |
| 3 |
1MC-2580T-00
CALIPER ASSY (LEFT)
|
1 | |
| 4 |
3P6-W0057-00
.PISTON ASSY, CALIPER
|
1 | |
| 5 |
3P6-W0047-00
..CALIPER SEAL KIT
|
1 | |
| 6 |
3P6-W0045-00
.BRAKE PAD KIT
|
2 | |
| 7 |
3P6-25919-00
.SUPPORT, PAD
|
2 | |
| 8 |
3P6-25924-00
.PIN, PAD
|
2 | |
| 9 |
8CR-25824-00
.SCREW, BLEED
|
1 | |
| 10 |
1UY-25825-51
.CAP
|
1 | |
| 11 |
3P6-25925-00
.STOPPER
|
2 | |
| 12 |
90105-10638
BOLT, FLANGE
|
2 | |
| 13 |
1MC-2580U-00
CALIPER ASSY (RIGHT)
|
1 | |
| 14 |
3P6-W0057-10
.PISTON ASSY, CALIPER
|
1 | |
| 15 |
3P6-W0047-10
..CALIPER SEAL KIT
|
1 | |
| 16 |
3P6-W0057-20
.PISTON ASSY, CALIPER
|
1 | |
| 17 |
3P6-W0047-20
..CALIPER SEAL KIT
|
1 | |
| 18 |
3P6-W0045-00
.BRAKE PAD KIT
|
2 | |
| 19 |
3P6-25919-00
.SUPPORT, PAD
|
2 | |
| 20 |
3P6-25924-00
.PIN, PAD
|
2 | |
| 21 |
8CR-25824-00
.SCREW, BLEED
|
2 | |
| 22 |
1UY-25825-51
.CAP
|
2 | |
| 23 |
3P6-25925-00
.STOPPER
|
2 | |
| 24 |
90105-10638
BOLT, FLANGE
|
2 |