πŸŒ™ Ψ±Ω…ΨΆΨ§Ω† ΩƒΨ±ΩŠΩ… ✨
✨ Ramadan Working Hours: 9:00 AM – 3:00 PM ✨

FJR1300AP

Section 37: FRONT MASTER CYLINDER 2 (v2)

Model code: 2BC2
Section 37 β€” FRONT MASTER CYLINDER 2
FJR1300AP
100%
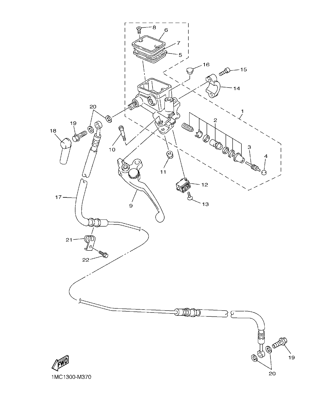
FJR1300AP – section 37 FRONT MASTER CYLINDER 2 parts diagram
Diagram image Open full size
Parts list
Section 37
Ref Part No. / Description Qty Buy
1
5JW-26401-01
MASTER CYLINDER SUB ASSY
1
2
5JW-26402-00
.CYLINDER KIT, MASTER (CLUTCH)
1
3
3GM-26464-00
.ROD, PUSH
1
4
3GM-26455-00
.BUSH
1
5
4HM-25854-00
.DIAPHRAGM, RESERVOIR
1
6
4HM-25852-01
.CAP, RESERVOIR
1
7
3GM-2585B-10
.PLATE, DIAPHRAGM
1
8
98707-04012
.SCREW, FLAT HEAD
2
2.98 AED
πŸ”“ Unlock Discounts
Stock 2 (Ask)
9
5EA-83912-00
LEVER 1
1
10
3FV-2589F-00
BOLT, LEVER
1
11
95707-06500
NUT, FLANGE
1
12
1MC-82917-00
SWITCH
1
13
90159-04011
SCREW, WITH WASHER
1
14
4KG-25867-00
BRACKET, MASTER CYLINDER
1
15
91316-06020
BOLT
2
16
90338-09012
PLUG
1
17
5P5-26470-00
HOSE, CLUTCH
1
18
4L0-25862-01
BOOT, MASTER CYLINDER
1
19
90401-10020
BOLT, UNION
2
20
90201-10118
WASHER, PLATE
4
4.47 AED
πŸ”“ Unlock Discounts
Stock 3 (Ask)
21
1MC-21823-00
CLAMP, HOSE
1
22
95022-06010
BOLT, FLANGE
1
2.98 AED
πŸ”“ Unlock Discounts
Stock 4 (Ask)