ME432STIP2
Choose a section to open the exploded parts diagram with live pricing. (v2)
Model code: N701
Engine sections in this model
CYLINDER HEAD
CYLINDER BLOCK
TIMING GEAR COVER & REAR END
CRANKSHAFT & PISTON
CAMSHAFT & VALVE
OIL PUMP
OIL FILTER & COOLER
OIL COOLER
WATER PUMP
INTAKE MANIFOLD
STARTING MOTOR
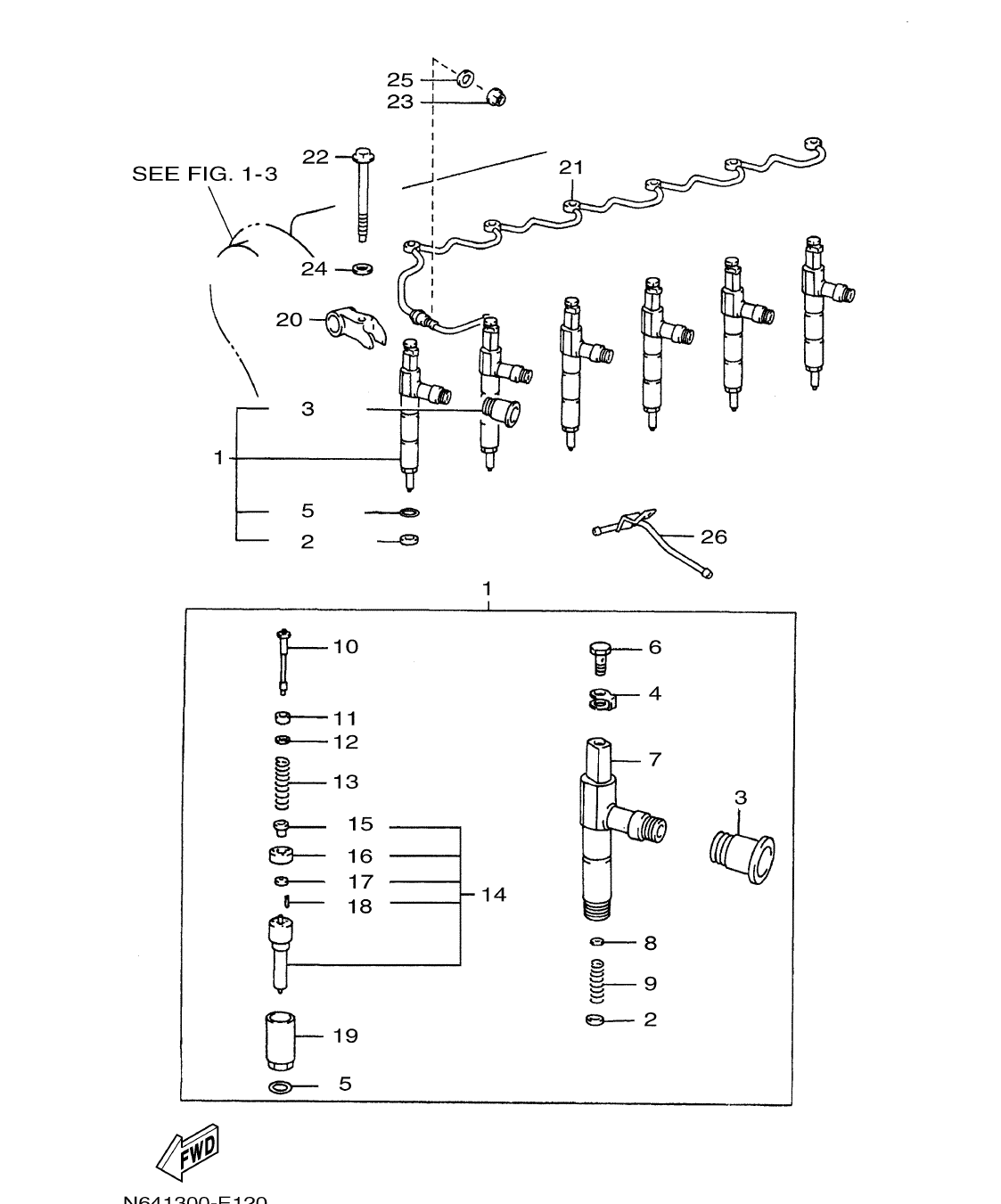
INJECTION NOZZLE
FUEL INJECTION PUMP
EMBLEM & LABEL 1
FLYWHEEL HOUSING 1
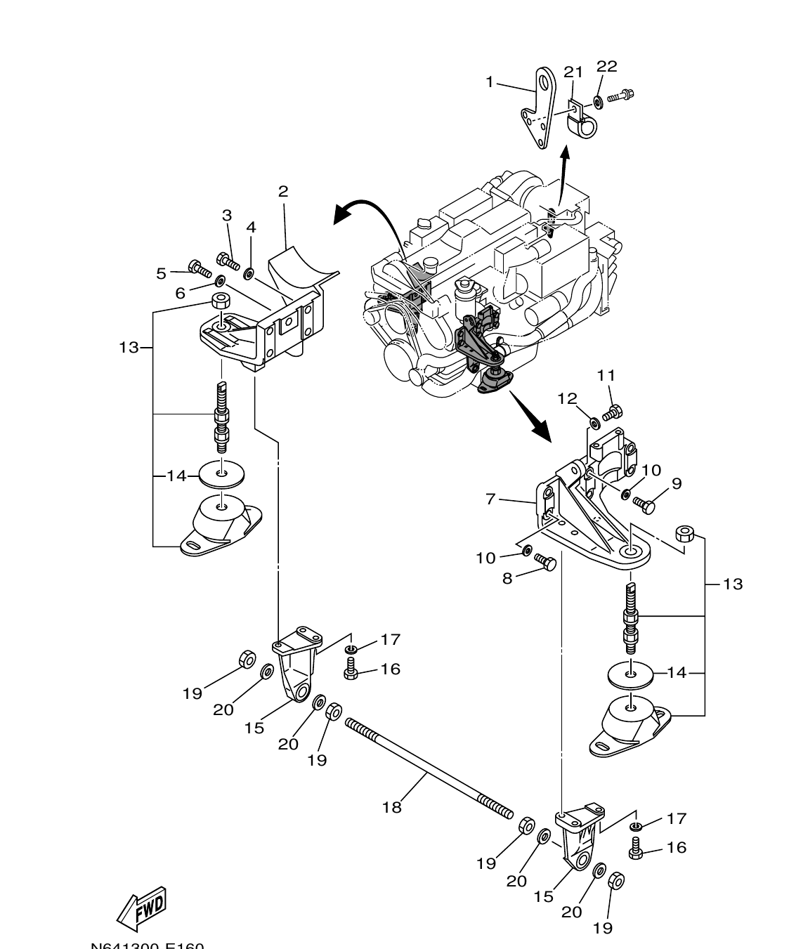
MOUNTING
OIL COOLER 2
LUBRICATION 1
VENTILATION
WATER COOLER
WATER COOLING 1
WATER COOLING 2
SEA WATER PUMP 1
WATER PUMP FOR SEA WATER
WATER FILTER
FUEL FILTER
AIR CLEANER
AIR COOLER
POWER STEERING OIL PUMP
SHIFT ASSIST UNIT
EXHAUST 1
EXHAUST 2
TURBO SUPERCHARGER ASSY
METER
GENERATOR
ELECTRICAL 1
ELECTRICAL 2
ELECTRICAL 3
ELECTRICAL 4
RESERVE TANK
OPTIONAL PARTS 1
Fig. 1
β CYLINDER HEAD
Fig. 2
β CYLINDER BLOCK
Fig. 3
β TIMING GEAR COVER & REAR END
Fig. 4
β CRANKSHAFT & PISTON
Fig. 5
β CAMSHAFT & VALVE
Fig. 6
β OIL PUMP
Fig. 7
β OIL FILTER & COOLER
Fig. 8
β OIL COOLER
Fig. 9
β WATER PUMP
Fig. 10
β INTAKE MANIFOLD
Fig. 11
β STARTING MOTOR
Fig. 12
β INJECTION NOZZLE
Fig. 13
β FUEL INJECTION PUMP
Fig. 14
β EMBLEM & LABEL 1
Fig. 15
β FLYWHEEL HOUSING 1
Fig. 16
β MOUNTING
Fig. 17
β OIL COOLER 2
Fig. 18
β LUBRICATION 1
Fig. 19
β VENTILATION
Fig. 20
β WATER COOLER
Fig. 21
β WATER COOLING 1
Fig. 22
β WATER COOLING 2
Fig. 23
β SEA WATER PUMP 1
Fig. 24
β WATER PUMP FOR SEA WATER
Fig. 25
β WATER FILTER
Fig. 26
β FUEL FILTER
Fig. 27
β AIR CLEANER
Fig. 28
β AIR COOLER
Fig. 29
β POWER STEERING OIL PUMP
Fig. 30
β SHIFT ASSIST UNIT
Fig. 31
β EXHAUST 1
Fig. 32
β EXHAUST 2
Fig. 33
β TURBO SUPERCHARGER ASSY
Fig. 34
β METER
Fig. 35
β GENERATOR
Fig. 36
β ELECTRICAL 1
Fig. 37
β ELECTRICAL 2
Fig. 38
β ELECTRICAL 3
Fig. 39
β ELECTRICAL 4
Fig. 40
β RESERVE TANK
Fig. 41
β OPTIONAL PARTS 1