πŸŒ™ Ψ±Ω…ΨΆΨ§Ω† ΩƒΨ±ΩŠΩ… ✨
✨ Ramadan Working Hours: 9:00 AM – 3:00 PM ✨

ME432STIP2

Section 22: WATER COOLING 2 (v2)

Model code: N701
Section 22 β€” WATER COOLING 2
ME432STIP2
100%
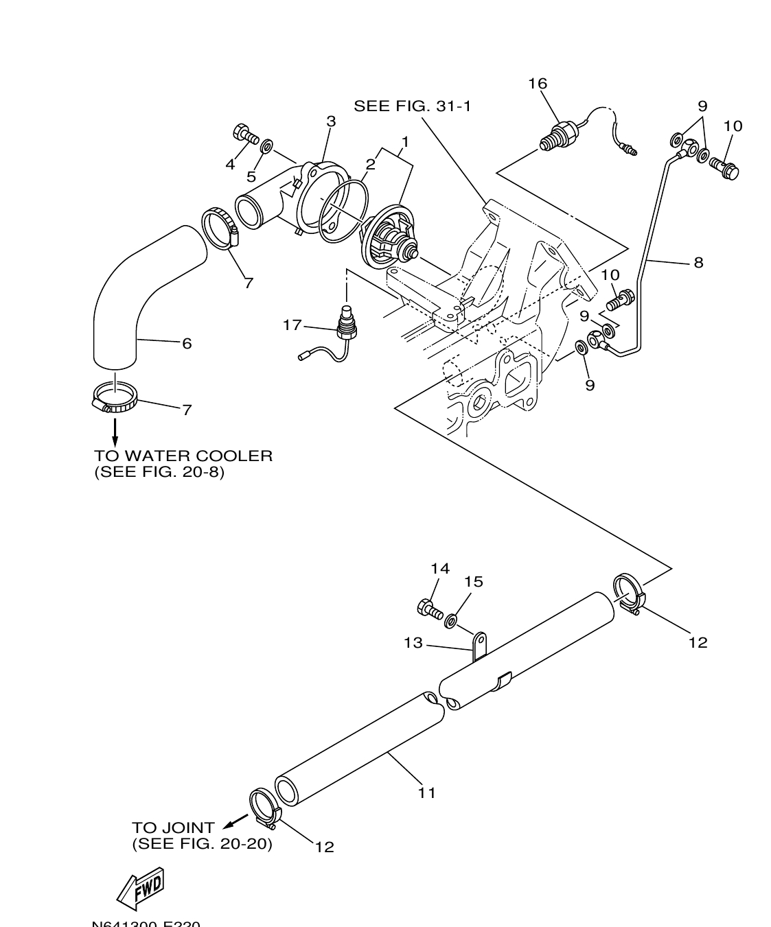
ME432STIP2 – section 22 WATER COOLING 2 parts diagram
Diagram image Open full size
Parts list
Section 22
Ref Part No. / Description Qty Buy
1
6TA-12411-00
THERMOSTAT
1
1
31-1
9 2 6TA-12412-00 .SEAL, THERMOSTAT
1
3
6TA-12413-00
COVER, THERMOSTAT
1
4
97027-08025
BOLT
2
5
92907-08600
WASHER, PLATE
2
2.98 AED
πŸ”“ Unlock Discounts
Stock 1 (Ask)
6
N57-1243A-00
HOSE 1
1
7
90450-32008
HOSE CLAMP ASSY
2
8
6TA-12566-00
PIPE, BYPASS
1
9
90430-10233
GASKET
4
10
90401-10094
BOLT, UNION (L=23, P=1.25X2)
2
11
6TA-1243F-00
HOSE,3
1
12
90450-40009
HOSE CLAMP ASSY
2
13
90465-16M48
CLAMP
1
14
97027-08020
BOLT
1
15
92907-08600
WASHER, PLATE
1
2.98 AED
πŸ”“ Unlock Discounts
Stock 1 (Ask)
16
6TA-82560-00
THERMO SWITCH ASSY
1
17
20-20
)
12
17
6TA-83591-00
THERMO UNIT
1