F100BET
Section 21: POWER TRIM & TILT ASSY 1 (v2)
Engine sections in this catalog
SCHEDULED SERVICE PARTS
FUEL 1
FUEL 2
GENERATOR
ELECTRICAL 1
ELECTRICAL 2
ELECTRICAL 3
STARTING MOTOR
BOTTOM COWLING
CONTROL
BRACKET 1
TOP COWLING
BRACKET 2
POWER TRIM & TILT ASSY 1
POWER TRIM & TILT ASSY 2
UPPER CASING
OIL PAN
LOWER CASING & DRIVE 1
LOWER CASING & DRIVE 2
STEERING GUIDE
REMOTE CONTROL BOX
REMOTE CONTROL ASSY
CYLINDER & CRANKCASE 1
METER
OPTIONAL PARTS 1
OPTIONAL PARTS 2
REPAIR KIT 1
REPAIR KIT 2
REPAIR KIT 3
CRANKSHAFT & PISTON
CYLINDER & CRANKCASE 2
VALVE
INTAKE
CARBURETOR 1
CARBURETOR 2
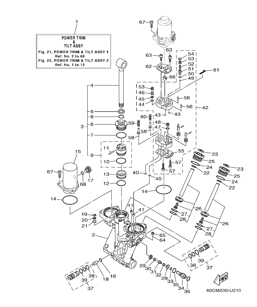
Diagram for section 21: POWER TRIM & TILT ASSY 1.
| Ref | Part No. | Qty | Buy |
|---|---|---|---|
| 1 |
68Vβ43800β13
POWER TRIM & TILT ASSY
|
1 | Ask on WhatsApp |
| 2 |
68Vβ4380Lβ13
HOUSING, TRIM & TILT SUB ASSY
|
1 | Ask on WhatsApp |
| 3 |
64Eβ43810β11
TILT PISTON SUB ASSY
|
1 | Ask on WhatsApp |
| 4 |
63Pβ43801β10
.ROD
|
1 | Ask on WhatsApp |
| 5 |
93106β19001
.OIL SEAL
|
1 | Ask on WhatsApp |
| 6 |
63Pβ43811β20
.SCREW, CYLINDER END
|
1 | Ask on WhatsApp |
| 7 |
63Pβ43861β20
.O-RING
|
1 | Ask on WhatsApp |
| 8 |
63Pβ43863β10
.O-RING
|
1 | Ask on WhatsApp |
| 9 |
64Eβ4380Pβ10
.PISTON SUB ASSY
|
1 | Ask on WhatsApp |
| 10 |
6H1β43862β00
..O-RING
|
1 | Ask on WhatsApp |
| 11 |
91609β16010
..PIN, SPRING
|
1 | Ask on WhatsApp |
| 12 |
6H1β43862β00
O-RING
|
1 | Ask on WhatsApp |
| 13 |
63Pβ43814β20
PISTON, FREE
|
1 | Ask on WhatsApp |
| 14 |
93210β68N50
O-RING
|
2 | Ask on WhatsApp |
| 15 |
63Pβ4382Cβ20
BODY, RESERVOIR 2
|
1 | Ask on WhatsApp |
| 16 |
93210β09165
O-RING
|
1 | Ask on WhatsApp |
| 17 |
6CJβ43829β10
PLUG, RESERVOIR
|
1 | Ask on WhatsApp |
| 18 |
6H1β43841β11
PISTON, SHUTTLE
|
1 | Ask on WhatsApp |
| 19 |
63Pβ43876β10
RING, SNAP
|
1 | Ask on WhatsApp |
| 20 |
63Pβ43816β10
FILTER 1
|
1 | Ask on WhatsApp |
| 21 |
93210β11N52
O-RING
|
1 | Ask on WhatsApp |
| 22 |
6D8β43863β00
O-RING
|
2 | Ask on WhatsApp |
| 23 |
63Pβ43812β20
SEAL, DUST
|
2 | Ask on WhatsApp |
| 24 |
63Pβ43862β10
O-RING
|
2 | Ask on WhatsApp |
| 25 |
63Pβ43821β21
SCREW, TRIM CYLINDER END
|
2 | Ask on WhatsApp |
| 26 |
63Pβ43820β20
TRIM PISTON SUB ASSY
|
2 | Ask on WhatsApp |
| 27 |
62Xβ43871β00
.RING, BACK UP
|
1 | Ask on WhatsApp |
| 28 |
93210β29375
|
1 | Ask on WhatsApp |
| 29 |
63Pβ43847β10
|
2 | Ask on WhatsApp |
| 30 |
63Pβ43854β10
|
1 | Ask on WhatsApp |
| 31 |
63Pβ4382Aβ10
|
1 | Ask on WhatsApp |
| 32 |
63Pβ4384Hβ10
|
1 | Ask on WhatsApp |
| 33 |
69Jβ4389Jβ00
|
1 | Ask on WhatsApp |
| 34 |
63Pβ43845β20
|
1 | Ask on WhatsApp |
| 35 |
93210β12327
|
1 | Ask on WhatsApp |
| 36 |
61Aβ43876β01
|
1 | Ask on WhatsApp |
| 37 |
63Pβ43802β21
|
2 | Ask on WhatsApp |
| 38 |
93210β12N52
|
1 | Ask on WhatsApp |
| 39 |
6H1β43866β01
|
1 | Ask on WhatsApp |
| 40 |
93210β064A5
|
2 | Ask on WhatsApp |
| 41 |
63Pβ4381Cβ20
|
2 | Ask on WhatsApp |
| 42 |
68Vβ43830β10
|
1 | Ask on WhatsApp |
| 43 |
93503β16003
|
2 | Ask on WhatsApp |
| 44 |
6H1β4384Gβ11
|
1 | Ask on WhatsApp |
| 45 |
6H1β43844β10
|
1 | Ask on WhatsApp |
| 46 |
6H1β43856β10
|
1 | Ask on WhatsApp |
| 47 |
93210β07N51
|
1 | Ask on WhatsApp |
| 48 |
63Pβ43851β20
|
1 | Ask on WhatsApp |
| 49 |
93501β08001
|
1 | Ask on WhatsApp |
| 50 |
93210β064A5
|
1 | Ask on WhatsApp |
| 51 |
63Pβ43844β20
|
1 | Ask on WhatsApp |
| 52 |
68Vβ43855β10
|
1 | Ask on WhatsApp |
| 53 |
63Pβ43843β10
|
2 | Ask on WhatsApp |
| 54 |
63Pβ43338β10
|
1 | Ask on WhatsApp |
| 55 |
63Pβ4384Gβ20
.SEAL, RELIEF VALVE
|
1 | Ask on WhatsApp |
| 56 |
93604β10011
.PIN, DOWEL
|
2 | Ask on WhatsApp |
| 57 |
91312β04020
.BOLT, HEXAGON SOCKET HEAD
|
2 | Ask on WhatsApp |
| 58 |
93501β08001
BALL
|
2 | Ask on WhatsApp |
| 59 |
63Pβ43857β10
SPRING, ABSORBER VALVE
|
1 | Ask on WhatsApp |
| 60 |
63Pβ4385Hβ10
SPRING, SEAL
|
1 | Ask on WhatsApp |
| 61 |
6CJβ43816β00
FILTER 1
|
1 | Ask on WhatsApp |
| 62 |
63Pβ4381Jβ10
PLATE
|
1 | Ask on WhatsApp |
| 63 |
91312β05035
BOLT, HEXAGON SOCKET HEAD
|
4 | Ask on WhatsApp |
| 64 |
93505β32038
BALL
|
1 | Ask on WhatsApp |
| 65 |
61Aβ43878β00
BOLT, SOCKET
|
1 | Ask on WhatsApp |
| 66 |
69Jβ43831β00
CONNECTOR, SHAFT
|
1 | Ask on WhatsApp |
| 67 |
91380β06025
BOLT
|
6 | Ask on WhatsApp |
| 68 |
6CJβ43861β10
O-RING
|
1 | Ask on WhatsApp |