Yamaha E25B / E30H 2002 outboard parts & diagrams
Section 9: ELECTRICAL 1
Engine sections in this catalog
TOP COWLING
CYLINDER. CRANKCASE
CRANKSHAFT. PISTON
INTAKE
CARBURETOR
FUEL
STARTER
GENERATOR
ELECTRICAL 1
ELECTRICAL 2
ELECTRICAL 3
STARTING MOTOR
BOTTOM COWLING
STEERING
CONTROL
CONTROL
BRACKET
BRACKET
UPPER CASING
LOWER CASING. DRIVE 1
LOWER CASING. DRIVE 2
FUEL TANK
STEERING GUIDE
REMOTE CONTROL BOX
REMOTE CONTROL ASSY
REPAIR KIT
REPAIR KIT
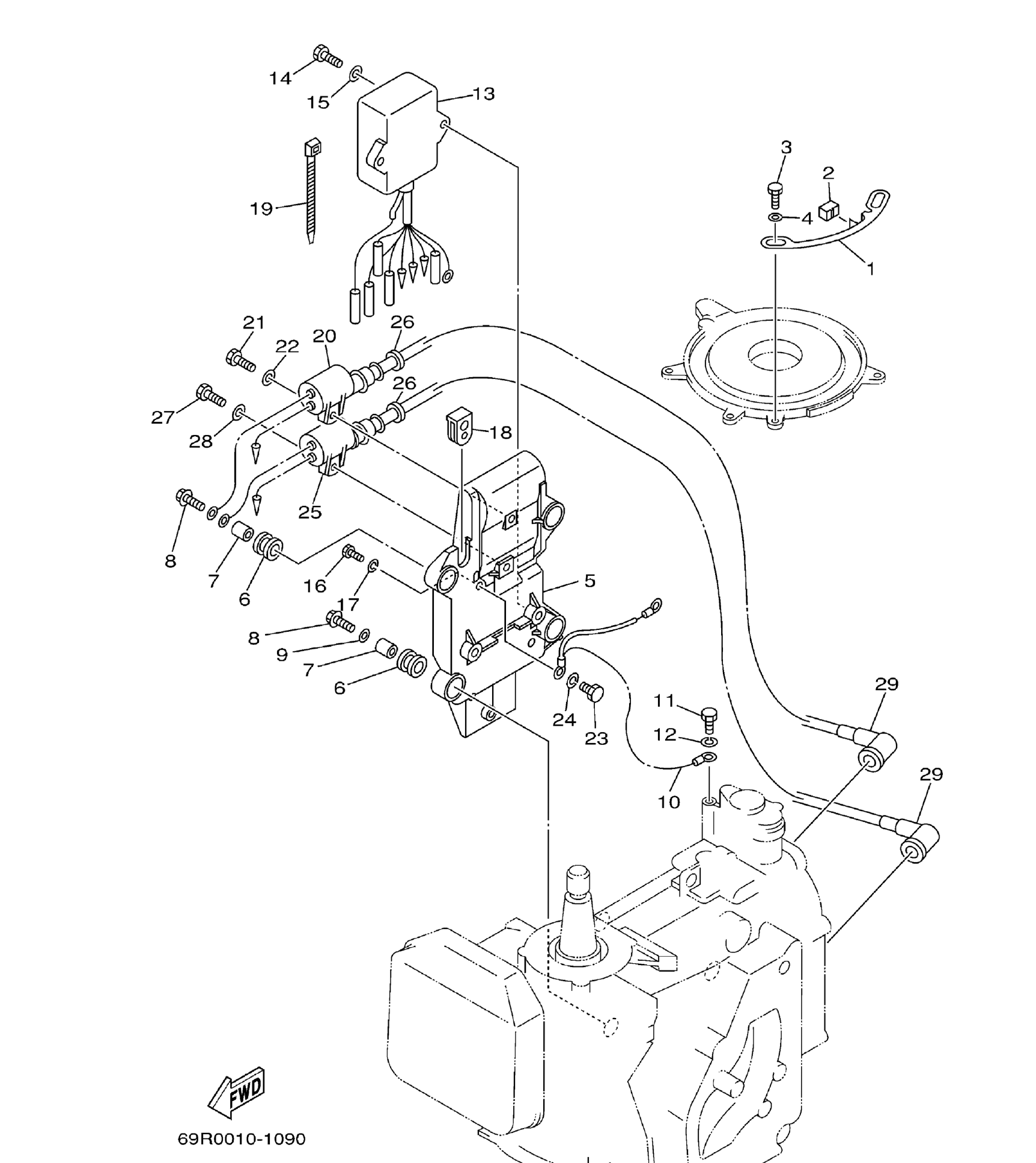
Diagram for section 9: ELECTRICAL 1.
| Ref | Part No. | Qty | Buy |
|---|---|---|---|
| 2 |
61N-44194-01
CAP
|
1 | Ask on WhatsApp |
| 2 |
61T-44194-01
CAP
|
1 | Ask on WhatsApp |
| 5 |
61N-85542-00-94
BRACKET
|
1 | Ask on WhatsApp |
| 6 |
61N-82317-00
DAMPER, IGNITION COIL
|
4 | Ask on WhatsApp |
| 7 |
624-42542-00
PIPE
|
4 | Ask on WhatsApp |
| 10 |
61N-82519-01
WIRE, EARTH LEAD
|
1 | Ask on WhatsApp |
| 13 |
61N-85540-13
C.D.!. UNIT ASSY
|
1 | Ask on WhatsApp |
| 14 |
61N-41615-00
STOPPER, MAGNETO BASE
|
1 | Ask on WhatsApp |
| 18 |
6H3-81922-00
GROMMET
|
1 | Ask on WhatsApp |
| 20 |
61N-85570-00
IGNITION COIL ASSY
|
1 | Ask on WhatsApp |
| 20 |
6H5-85570-00
IGNITION COIL ASSY
|
1 | Ask on WhatsApp |
| 25 |
61N-85570-00
IGNITION COIL ASSY
|
1 | Ask on WhatsApp |
| 25 |
61N-85570-10
IGNITION COIL ASSY
|
1 | Ask on WhatsApp |
| 29 |
663-82370-01
PLUG CAP ASSY 2/ 2!
|
2 |
Price:
17.13 AED
In stock
(1 pcs)
|
| 29 |
6G1-82370-21
PLUG CAP ASSY
|
2 | Ask on WhatsApp |