Yamaha E25B / E30H 2002 outboard parts & diagrams
Section 11: ELECTRICAL 3
Engine sections in this catalog
TOP COWLING
CYLINDER. CRANKCASE
CRANKSHAFT. PISTON
INTAKE
CARBURETOR
FUEL
STARTER
GENERATOR
ELECTRICAL 1
ELECTRICAL 2
ELECTRICAL 3
STARTING MOTOR
BOTTOM COWLING
STEERING
CONTROL
CONTROL
BRACKET
BRACKET
UPPER CASING
LOWER CASING. DRIVE 1
LOWER CASING. DRIVE 2
FUEL TANK
STEERING GUIDE
REMOTE CONTROL BOX
REMOTE CONTROL ASSY
REPAIR KIT
REPAIR KIT
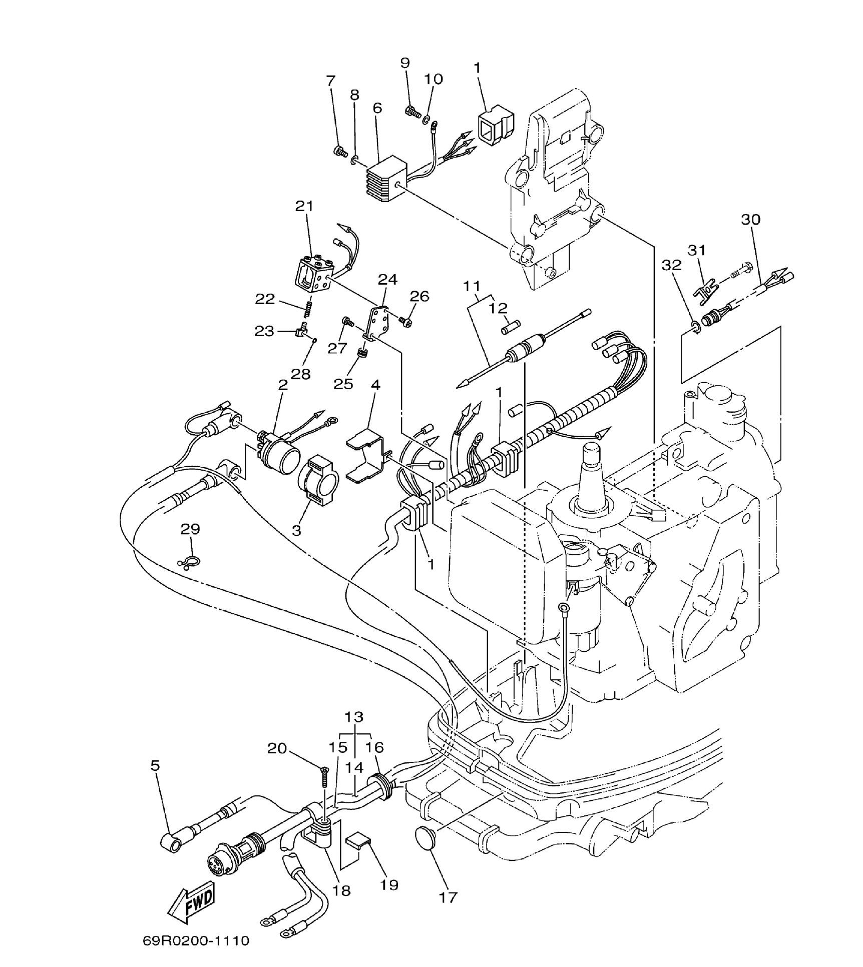
Diagram for section 11: ELECTRICAL 3.
| Ref | Part No. | Qty | Buy |
|---|---|---|---|
| 2 |
6G1-81941-10
STARTER RELAY ASSY
|
Ask on WhatsApp | |
| 3 |
6G1-81952-00
HOLDER, RELAY
|
Ask on WhatsApp | |
| 4 |
61T-81945-01
PLATE, SWITCH FITTING
|
Ask on WhatsApp | |
| 6 |
664-81970-61
RECTIFIER ASSY
|
Ask on WhatsApp | |
| 13 |
61T-82580-00
WIRE HARNESS ASSY
|
2 | Ask on WhatsApp |
| 14 |
61T-82590-00
WIRE HARNESS ASSY
|
Ask on WhatsApp | |
| 15 |
689-82105-13
WIRE HARNESS
|
Ask on WhatsApp | |
| 16 |
689-42724-50
GROMMET
|
Ask on WhatsApp | |
| 18 |
689-82594-10
CLAMP
|
Ask on WhatsApp | |
| 19 |
682-42525-00
PLATE, FRICTION
|
Ask on WhatsApp | |
| 21 |
61T-86111-00
COIL, SOLENOID A A O
|
Ask on WhatsApp | |
| 22 |
682-86116-00
WIRE, PULL
|
Ask on WhatsApp | |
| 30 |
61T-82560-00
THERMO SWITCH ASSY
|
1 | Ask on WhatsApp |
| 31 |
61T-82588-00
PLATE
|
1 | Ask on WhatsApp |