Yamaha 40XMH, 40XW Section 11 Parts Diagram
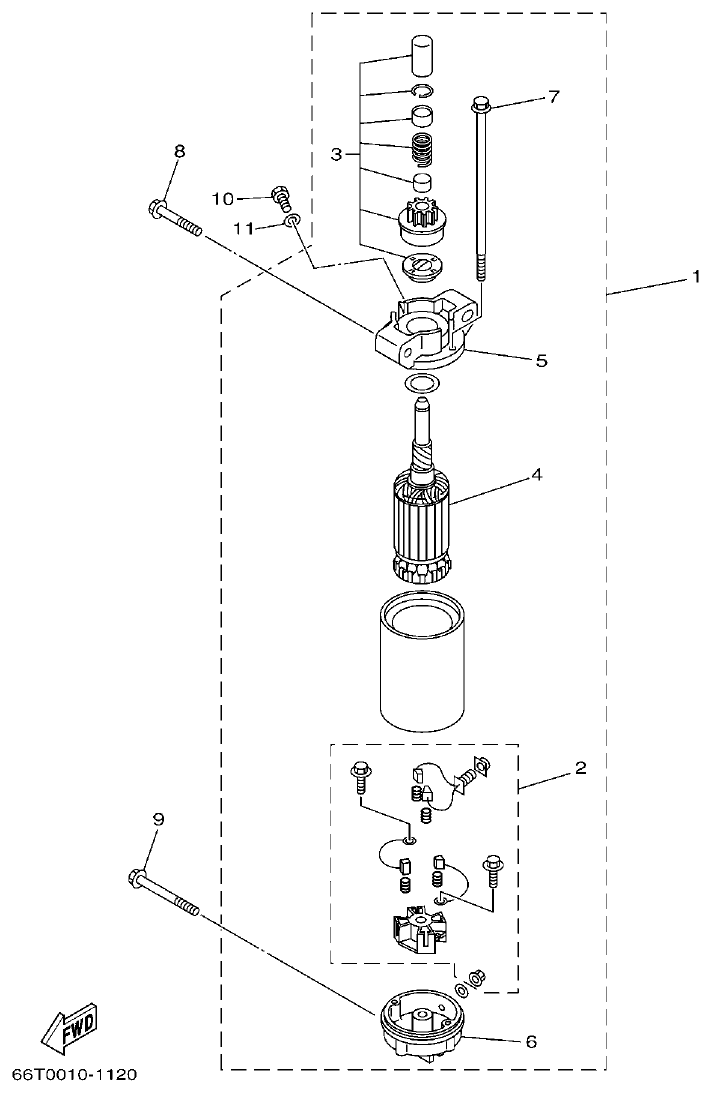
STARTING MOTOR
11 catalog rows Β· 1 linked store rows
Parts list
Section 11
| Ref | Part No. / Description | Qty | Buy |
|---|---|---|---|
| 1 |
STARTING MOTOR ASSY
|
1 | |
| 2 |
.BRUSH HOLDER ASSY
|
1 | |
| 3 |
.PINION STOPPER SET
|
1 | |
| 4 |
.ARMATURE ASSY
|
1 | |
| 5 |
.FRONT BRACKET ASSY
|
1 | |
| 6 |
.REAR BRACKET ASSY
|
1 | |
| 7 |
.BOLT
|
2 | |
| 8 |
BOLT, WITH WASHER
|
2 | |
| 9 |
BOLT, WITH WASHER
|
1 | |
| 10 |
BOLT
|
1 | |
| 11 |
WASHER
|
1 |