Yamaha 40XMH, 40XW Section 5 Parts Diagram
CARBURETOR
24 catalog rows Β· 8 linked store rows
Parts list
Section 5
| Ref | Part No. / Description | Qty | Buy |
|---|---|---|---|
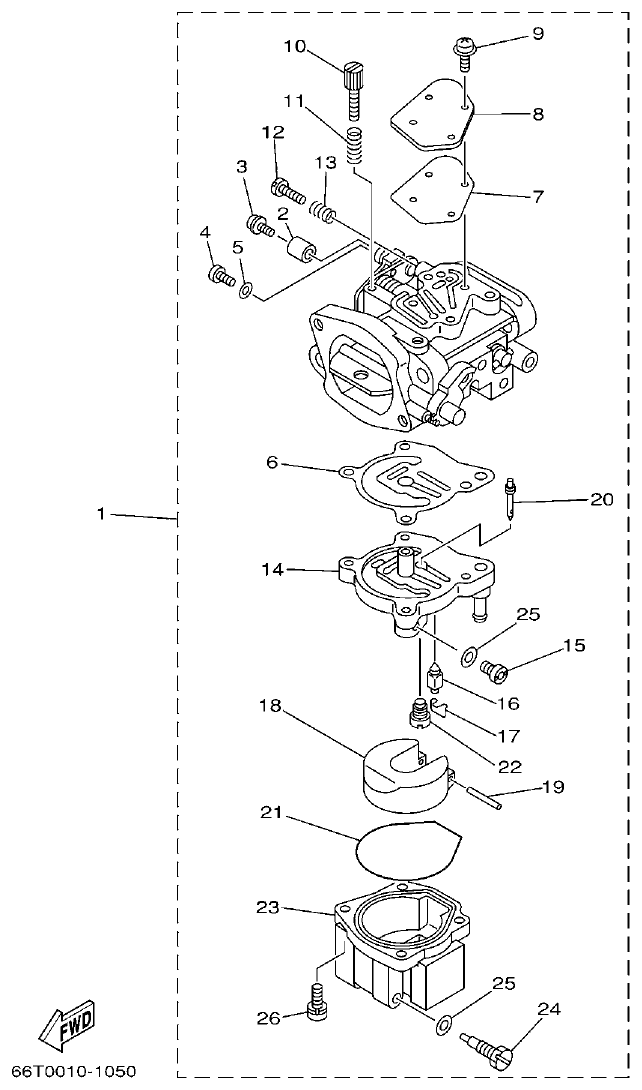
| 1 |
66T-14301-02
CARBURETOR ASSY
1
|
1 | |
| 1 |
66T-14301-12
CARBURETOR ASSY 1
|
1 | |
| 2 |
66T-14578-00
.COLLAR
1
|
1 | |
| 3 |
66T-14584-00
.STOPPER
1
|
1 | |
| 4 |
6J8-14592-01
.SCREW
1
|
1 | |
| 6 |
66T-14384-01
.GASKET, FLOAT CHAMBER
1
|
1 | |
| 7 |
66T-14536-00
.GASKET
1
|
1 | |
| 8 |
66T-14527-00
.PLATE
1
|
1 | |
| 10 |
66T-14523-00
.SCREW, STOP
1
|
1 | |
| 11 |
6J8-14334-00
.SPRING, THROTTLE
1
|
1 | |
| 12 |
6E5-14323-03
.SCREW, AIR ADJUSTING
1
|
1 | |
| 13 |
6E5-14223-00
.SPRING, AIR ADJUSTING
1
|
1 | |
| 14 |
66T-14945-02
.SPACER ASSY (#38)
1
|
1 | |
| 15 |
61A-1492E-85
.JET, MAIN (#170)
1
|
1 | |
| 16 |
6E5-14546-00
.VALVE, NEEDLE
1
|
1 | |
| 17 |
6E5-14159-00
.CLIP
1
|
1 | |
| 18 |
6E5-14385-02
.FLOAT
1
|
1 | |
| 19 |
6E5-14386-02
.PIN, FLOAT
1
|
1 | |
| 20 |
66T-1492F-35
.JET, AIR SLOW (#70)
1
|
1 | |
| 21 |
66T-14984-00
.GASKET, FLOAT CHAMBER
1
|
1 | |
| 22 |
66T-14992-00
.PLUG
1
|
1 | |
| 23 |
66T-14981-00
.BODY, FLOAT CHAMBER
1
|
1 | |
| 24 |
66T-14991-00
.PLUG, DRAIN
1
|
1 | |
| 25 |
66T-14959-00
.GASKET
2
|
2 |