F175AET
Section 40: REPAIR KIT 2 (v2)
Engine sections in this catalog
SCHEDULED SERVICE PARTS
INTAKE 2
INTAKE 3
FUEL INJECTION PUMP 1
FUEL INJECTION PUMP 2
FUEL 1
FUEL 2
GENERATOR
ELECTRICAL 1
ELECTRICAL 2
ELECTRICAL 3
TOP COWLING
ELECTRICAL 4
ELECTRICAL 5
ELECTRICAL 6
STARTING MOTOR
BOTTOM COWLING 1
BOTTOM COWLING 2
BOTTOM COWLING 3
CONTROL
BRACKET 1
BRACKET 2
CYLINDER & CRANKCASE 1
POWER TRIM & TILT ASSY 1
POWER TRIM & TILT ASSY 2
UPPER CASING
OIL PAN
LOWER CASING & DRIVE 1
LOWER CASING & DRIVE 2
STEERING GUIDE
OPTIONAL PARTS 1
OPTIONAL PARTS 2
REPAIR KIT 1
CRANKSHAFT & PISTON
REPAIR KIT 2
CYLINDER & CRANKCASE 2
CYLINDER & CRANKCASE 3
CYLINDER & CRANKCASE 4
VALVE
INTAKE 1
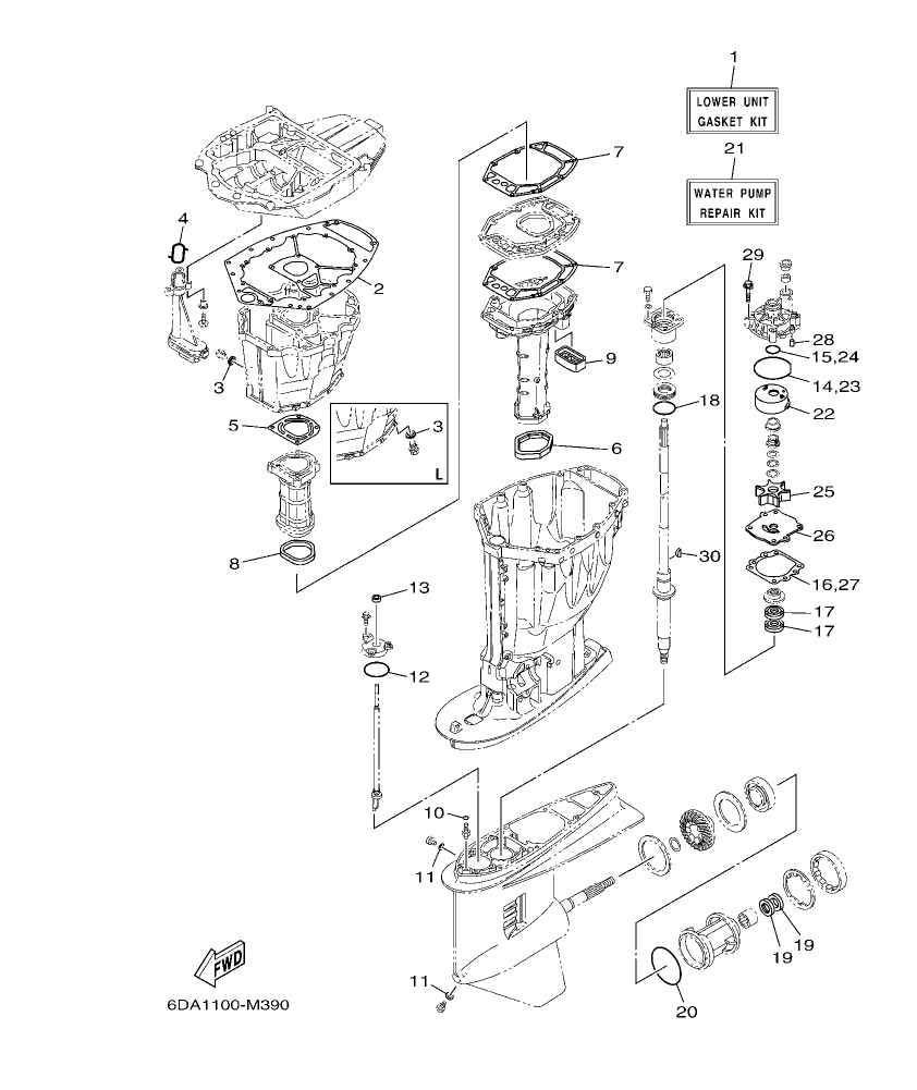
Diagram for section 40: REPAIR KIT 2.
| Ref | Part No. | Qty | Buy |
|---|---|---|---|
| 1 |
63PβW0001β21
LOWER UNIT GASKET KIT
|
1 | Ask on WhatsApp |
| 2 |
63Pβ15312β01
.GASKET, OIL PAN
|
1 | Ask on WhatsApp |
| 3 |
90430β14M09
.GASKET
|
1 | Ask on WhatsApp |
| 4 |
63Pβ13415β00
.SEAL, OIL STRAINER
|
1 | Ask on WhatsApp |
| 5 |
63Pβ41133βA0
.GASKET, EXHAUST MANIFOLD 1
|
1 | Ask on WhatsApp |
| 6 |
69Jβ45123β00
.GASKET, MUFFLER
|
1 | Ask on WhatsApp |
| 7 |
63Pβ41134βA1
.GASKET, EXHAUST MANIFOLD
|
2 | Ask on WhatsApp |
| 8 |
63Pβ41138β00
.SEAL, EXT. 1
|
1 | Ask on WhatsApp |
| 9 |
69Jβ45127β00
.SEAL
|
1 | Ask on WhatsApp |
| 10 |
93210β07003
.O-RING
|
2 | Ask on WhatsApp |
| 11 |
90430β08020
.GASKET
|
2 | Ask on WhatsApp |
| 12 |
93210β58144
.O-RING
|
1 | Ask on WhatsApp |
| 13 |
93106β09014
.OIL SEAL
|
1 | Ask on WhatsApp |
| 14 |
93210β86M38
.O-RING
|
1 | Ask on WhatsApp |
| 15 |
93210β37160
.O-RING
|
1 | Ask on WhatsApp |
| 16 |
6E5β44315βA0
.GASKET, WATER PUMP
|
1 | Ask on WhatsApp |
| 17 |
93101β28M16
.OIL SEAL
|
2 | Ask on WhatsApp |
| 18 |
93210β55M14
.O-RING
|
1 | Ask on WhatsApp |
| 19 |
93101β30M17
.OIL SEAL
|
2 | Ask on WhatsApp |
| 20 |
93210β97M55
.O-RING
|
1 | Ask on WhatsApp |
| 21 |
61AβW0078βA3
WATER PUMP REPAIR KIT
|
1 | Ask on WhatsApp |
| 22 |
61Aβ44322β02
.INSERT, CARTRIDGE
|
1 | Ask on WhatsApp |
| 23 |
93210β86M38
.O-RING
|
1 | Ask on WhatsApp |
| 24 |
93210β37160
.O-RING
|
1 | Ask on WhatsApp |
| 25 |
6E5β44352β01
.IMPELLER
|
1 | Ask on WhatsApp |
| 26 |
6G5β44323β01
.OUTER PLATE, CARTRIDGE
|
1 | Ask on WhatsApp |
| 27 |
6E5β44315βA0
.GASKET, WATER PUMP
|
1 | Ask on WhatsApp |
| 28 |
93606β12019
.PIN, DOWEL
|
2 | Ask on WhatsApp |
| 29 |
90119β08M14
.BOLT, WITH WASHER
|
4 | Ask on WhatsApp |
| 30 |
90280β04M05
.KEY, WOODRUFF
|
1 | Ask on WhatsApp |