F130AET
Section 26: BRACKET 1 (v2)
Engine sections in this catalog
SCHEDULED SERVICE PARTS
FUEL INJECTION PUMP 1
FUEL INJECTION PUMP 2
EXHAUST
FUEL 1
FUEL 2
GENERATOR
ELECTRICAL 1
ELECTRICAL 2
ELECTRICAL 3
ELECTRICAL 4
TOP COWLING
ELECTRICAL 5
ELECTRICAL 6
STARTING MOTOR
BOTTOM COWLING 1
BOTTOM COWLING 2
CONTROL
BRACKET 1
BRACKET 2
POWER TRIM & TILT ASSY 1
POWER TRIM & TILT ASSY 2
CYLINDER & CRANKCASE 1
UPPER CASING
OIL PAN
LOWER CASING & DRIVE 1
LOWER CASING & DRIVE 2
STEERING GUIDE
OPTIONAL PARTS 1
OPTIONAL PARTS 2
REPAIR KIT 1
REPAIR KIT 2
CRANKSHAFT & PISTON
CYLINDER & CRANKCASE 2
VALVE
INTAKE 1
INTAKE 2
INTAKE 3
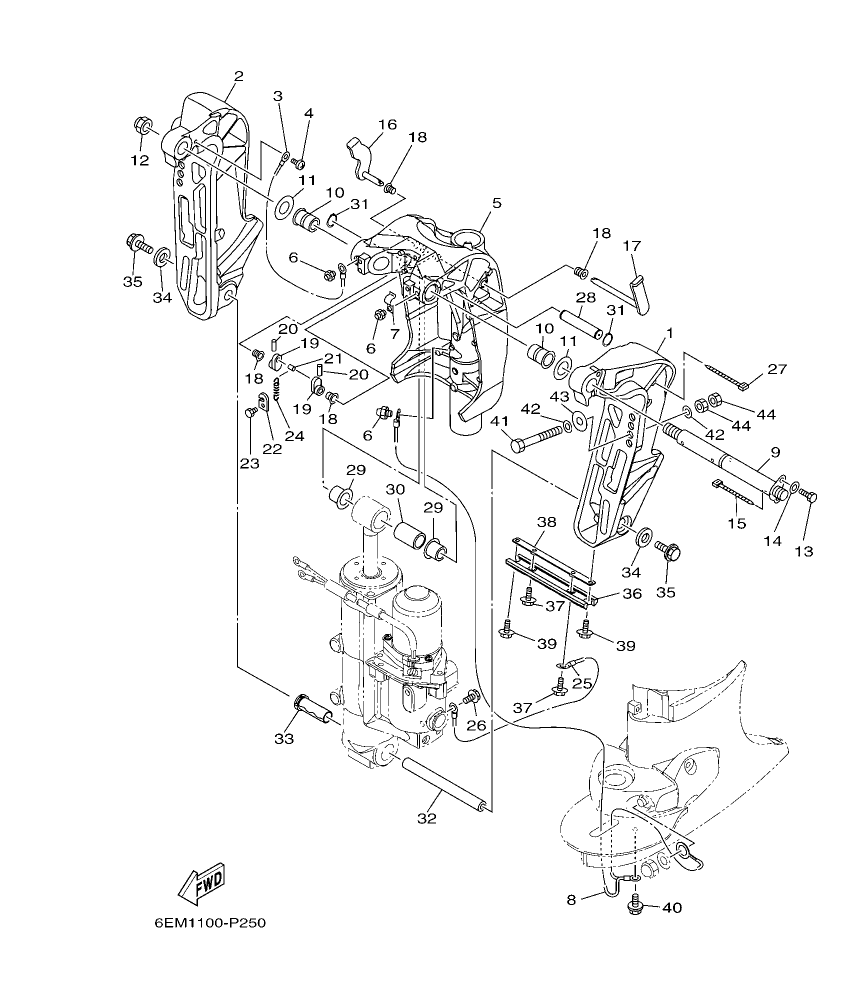
Diagram for section 26: BRACKET 1.
| Ref | Part No. | Qty | Buy |
|---|---|---|---|
| 1 |
6EKβ43111β00β8D
BRACKET, CLAMP 1
|
1 | Ask on WhatsApp |
| 2 |
6EKβ43112β00β8D
BRACKET, CLAMP 2
|
1 | Ask on WhatsApp |
| 3 |
6E5β82148β00
WIRE, LEAD 4
|
1 | Ask on WhatsApp |
| 4 |
97880β06012
SCREW, PAN HEAD
|
1 | Ask on WhatsApp |
| 5 |
6EKβ43311β00β8D
BRACKET, SWIVEL 1
|
1 | Ask on WhatsApp |
| 5 |
6EKβ43311β10β8D
BRACKET, SWIVEL 1
|
1 | Ask on WhatsApp |
| 6 |
93700β06M03
NIPPLE, GREASE
|
3 | Ask on WhatsApp |
| 7 |
90465β08M63
CLAMP
|
1 | Ask on WhatsApp |
| 8 |
66Kβ82149β00
WIRE, LEAD 3
|
1 | Ask on WhatsApp |
| 8 |
68Vβ82149β30
WIRE, LEAD 3
|
1 | Ask on WhatsApp |
| 9 |
64Eβ43131β30
BOLT, CLAMP BRACKET
|
1 | Ask on WhatsApp |
| 10 |
90386β25M31
BUSH
|
2 | Ask on WhatsApp |
| 11 |
90201β26M59
WASHER, PLATE
|
2 | Ask on WhatsApp |
| 12 |
90185β22M11
NUT, SELF-LOCKING
|
1 | Ask on WhatsApp |
| 13 |
97095β08020
BOLT
|
1 | Ask on WhatsApp |
| 14 |
92995β08600
WASHER
|
1 | Ask on WhatsApp |
| 15 |
90465β11M10
CLAMP
|
1 | Ask on WhatsApp |
| 16 |
6EKβ43181β00
LEVER, TILT STOP 1
|
1 | Ask on WhatsApp |
| 17 |
6EKβ43185β00
LEVER, TILT STOP 2
|
1 | Ask on WhatsApp |
| 18 |
90386β10M16
BUSH
|
4 | Ask on WhatsApp |
| 19 |
6G5β43148β00
COLLAR, DISTANCE
|
2 | Ask on WhatsApp |
| 20 |
91690β30020
PIN, SPRING
|
2 | Ask on WhatsApp |
| 21 |
90249β06M19
PIN
|
1 | Ask on WhatsApp |
| 22 |
66Tβ43144β00
HOOK, SPRING
|
1 | Ask on WhatsApp |
| 23 |
97095β06010
BOLT
|
1 | Ask on WhatsApp |
| 24 |
90506β14M24
SPRING, TENSION
|
1 | Ask on WhatsApp |
| 25 |
6D8β82148β00
WIRE, LEAD 4
|
1 | Ask on WhatsApp |
| 26 |
97595β06510
BOLT, WITH WASHER
|
1 | Ask on WhatsApp |
| 27 |
90465β13M18
CLAMP
|
1 | Ask on WhatsApp |
| 28 |
6EKβ43126β00
PIN, UPPER SHOCK MOUNT
|
1 | Ask on WhatsApp |
| 29 |
90386β18M35
BUSH
|
2 | Ask on WhatsApp |
| 30 |
90386β18001
BUSH
|
1 | Ask on WhatsApp |
| 31 |
93410β18M05
CIRCLIP
|
2 | Ask on WhatsApp |
| 32 |
6EKβ43818β00
PIN, LOWER SHOCK MOUNT
|
1 | Ask on WhatsApp |
| 33 |
90383β20001
BUSH, FORMED
|
1 | Ask on WhatsApp |
| 34 |
90201β10060
WASHER, PLATE
|
2 | Ask on WhatsApp |
| 35 |
90119β10054
BOLT, WITH WASHER
|
2 | Ask on WhatsApp |
| 36 |
6H1β45251β03
ANODE
|
1 | Ask on WhatsApp |
| 37 |
90119β06M81
BOLT, WITH WASHER
|
2 | Ask on WhatsApp |
| 38 |
6EKβ44536β00
PLATE 2
|
1 | Ask on WhatsApp |
| 39 |
97595β06616
BOLT, WITH WASHER
|
2 | Ask on WhatsApp |
| 40 |
95895β06010
BOLT, FLANGE
|
1 | Ask on WhatsApp |
| 41 |
90101β12047
BOLT (L:150MM)
|
2 | Ask on WhatsApp |
| 41 |
90101β12047
BOLT (L:150MM)
|
4 | Ask on WhatsApp |
| 41 |
90101β12M05
BOLT (L:130MM)
|
4 | Ask on WhatsApp |
| 41 |
90101β12M05
BOLT (L:130MM)
|
2 | Ask on WhatsApp |
| 42 |
90201β13M01
WASHER, PLATE
|
8 | Ask on WhatsApp |
| 43 |
90201β12426
WASHER, PLATE
|
4 | Ask on WhatsApp |
| 44 |
95380β12600
NUT
|
8 | Ask on WhatsApp |