F130AET
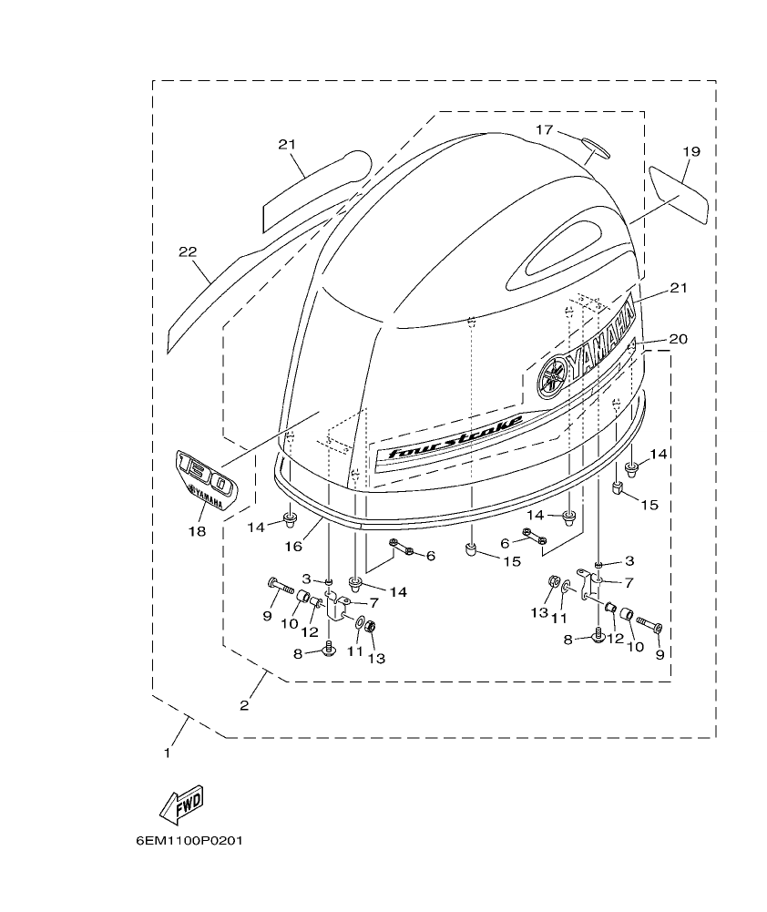
Section 2: TOP COWLING (v2)
Engine sections in this catalog
SCHEDULED SERVICE PARTS
FUEL INJECTION PUMP 1
FUEL INJECTION PUMP 2
EXHAUST
FUEL 1
FUEL 2
GENERATOR
ELECTRICAL 1
ELECTRICAL 2
ELECTRICAL 3
ELECTRICAL 4
TOP COWLING
ELECTRICAL 5
ELECTRICAL 6
STARTING MOTOR
BOTTOM COWLING 1
BOTTOM COWLING 2
CONTROL
BRACKET 1
BRACKET 2
POWER TRIM & TILT ASSY 1
POWER TRIM & TILT ASSY 2
CYLINDER & CRANKCASE 1
UPPER CASING
OIL PAN
LOWER CASING & DRIVE 1
LOWER CASING & DRIVE 2
STEERING GUIDE
OPTIONAL PARTS 1
OPTIONAL PARTS 2
REPAIR KIT 1
REPAIR KIT 2
CRANKSHAFT & PISTON
CYLINDER & CRANKCASE 2
VALVE
INTAKE 1
INTAKE 2
INTAKE 3
Diagram for section 2: TOP COWLING.
| Ref | Part No. | Qty | Buy |
|---|---|---|---|
| 1 |
6EMβ42610β00
TOP COWLING ASSY
|
1 | Ask on WhatsApp |
| 2 |
6EKβ4261Aβ00
.TOP COWLING W/O GRAPHICS
|
1 | Ask on WhatsApp |
| 3 |
90387β07046
..COLLAR
|
4 | Ask on WhatsApp |
| 6 |
6EKβ42646β00
..PLATE, CLAMP
|
2 | Ask on WhatsApp |
| 7 |
6EKβ42647β00
..HOLDER, CLAMP BAND
|
2 | Ask on WhatsApp |
| 8 |
90105β06039
..BOLT, FLANGE
|
4 | Ask on WhatsApp |
| 9 |
90111β08078
..BOLT,HEX. SOCKET BUTTON
|
2 | Ask on WhatsApp |
| 10 |
90387β10094
..COLLAR
|
2 | Ask on WhatsApp |
| 11 |
92990β08600
..WASHER, PLATE
|
2 | Ask on WhatsApp |
| 12 |
90387β08M45
..COLLAR
|
2 | Ask on WhatsApp |
| 13 |
95780β08300
..NUT, FLANGE
|
2 | Ask on WhatsApp |
| 14 |
68Fβ42663β00
..DAMPER
|
4 | Ask on WhatsApp |
| 15 |
6EKβ42662β00
..DAMPER
|
2 | Ask on WhatsApp |
| 16 |
6EKβ42615β01
..SEAL
|
1 | Ask on WhatsApp |
| 17 |
6DAβ42697β00
..TUNING FORK MARK
|
1 | Ask on WhatsApp |
| 18 |
6EMβ42677β00
.GRAPHIC, FRONT
|
1 | Ask on WhatsApp |
| 19 |
6EMβ42678β00
.GRAPHIC, REAR
|
1 | Ask on WhatsApp |
| 20 |
6EKβ42675β00
.GRAPHIC, SIDE 1
|
1 | Ask on WhatsApp |
| 21 |
6D6β42681β00
.MARK, COWLING
|
2 | Ask on WhatsApp |
| 22 |
6EKβ42676β00
.GRAPHIC, SIDE 2
|
1 | Ask on WhatsApp |